- Partiron
- OEM Parts
- Yamaha
- snowmobile
- 1985
- VMX540J (V-MAX) 1985
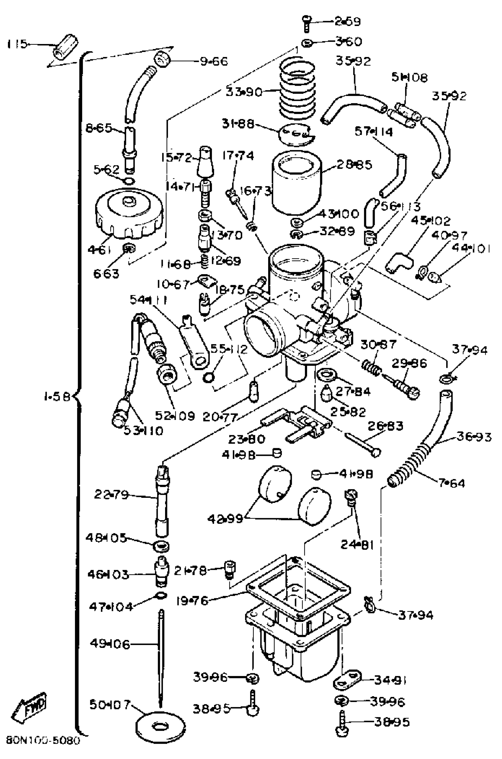
CARBURETOR VMX540J
Yamaha VMX540J (V-MAX) 1985 CARBURETOR VMX540J Diagram
#
1
CARBURETOR ASSEMBLY1
83X-14101-00-00
Unavailable
4
. TOP, MIXING CHAMBER
3R4-14158-00-00
Unavailable
7
. SPRING
8X6-14589-00-00
Unavailable
8
. GUIDE, CABLE
8X6-14155-00-00
Unavailable
10
. PLATE, STARTER LVR
8A7-14178-00-00
Unavailable
16
SPRING, AIR ADJUSTING
127-14134-00-00
Unavailable
17
AIR SCREW SET
23X-14104-00-00
Unavailable
18
PLUNGER, STARTER
8U9-14171-00-00
Unavailable
19
GASKET, FLOAT CHAMBER BODY
363-14184-00-00
Unavailable
20
. JET, PILOT #40
193-14142-40-A1
Unavailable
20
. JET, PILOT (#45)
193-14142-45-A1
Unavailable
21
JET, MAIN #180
137-14143-36-A1
Unavailable
21
JET, MAIN #200
137-14143-40-A1
Unavailable
21
JET, MAIN #210
137-14143-42-A1
Unavailable
21
JET, MAIN #220
137-14143-44-A1
Unavailable
21
JET, MAIN #230
137-14143-46-A1
Unavailable
21
JET, MAIN #240
137-14143-48-A1
Unavailable
21
JET, MAIN #250
137-14143-50-A1
Unavailable
21
JET, MAIN #270
137-14143-54-A1
Unavailable
21
JET, MAIN #290
137-14143-58-A1
Unavailable
21
JET, MAIN #310
137-14143-62-A1
Unavailable
21
JET, MAIN #330
137-14143-66-A1
Unavailable
22
. VALVE, THROTTLE 1
80N-14112-25-00
Unavailable
23
. ARM, FLOAT
363-14187-00-00
Unavailable
24
JET, MAIN (#135)
3G2-14231-27-00
Unavailable
25
VALVE SEAT ASSY (1.5)
500-14190-15-00
Unavailable
26
PIN, FLOAT
537-14186-00-00
Unavailable
27
WASHER,VALVE SEAT
239-14195-00-00
Unavailable
28
. VALVE, THROTTLE 1
80N-14112-25-00
Unavailable
29
. SCREW, THROTTLE
40T-14122-00-00
Unavailable
30
SPRING, THROTTLE STOP
137-14133-00-00
Unavailable
31
. SEAT, SPRING
3V3-14136-00-00
Unavailable
32
CLIP
3FA-14137-00-00
Unavailable
33
. SPRING, THROTTLE VALVE
363-14131-00-00
Unavailable
34
. PLATE
313-14146-00-00
Unavailable
35
HOSE
89A-14987-00-00
Unavailable
36
HOSE
89A-14987-00-00
Unavailable
37
CLIP, PIPE
8A7-14139-00-00
Unavailable
38
SCREW, PAN HEAD(6B0)
97885-05016-00
Unavailable
39
YBS67-5 WASHER, SPRING
92990-05100-00
Unavailable
40
CLIP, PIPE
8U9-14139-00-00
Unavailable
41
CAP
214-14118-00-00
Unavailable
42
. FLOAT
214-14185-00-00
Unavailable
43
. WASHER, NEEDLE
2H0-14235-00-00
Unavailable
44
. PILOT JET, AIR (15)
239-14172-15-00
Unavailable
45
. HOSE
22U-14987-00-00
Unavailable
46
. SETTER, NEEDLE JET
276-14145-00-00
Unavailable
47
O-RING
214-14147-00-00
Unavailable
48
WASHER,MAIN JET
137-14153-00-00
Unavailable
49
. NEEDLE
275-14116-A0-00
Unavailable
50
. PLATE
510-14146-00-00
Unavailable
51
NIPPLE
8J0-14251-00-00
Unavailable
52
. NUT, CABLE ADJUSTING
80N-14161-00-00
Unavailable
53
. SWITCH, CARBURETOR
80N-8259A-01-00
Unavailable
54
. PLATE
80N-14243-00-00
Unavailable
55
. O-RING
80N-14147-00-00
Unavailable
56
CLIP (8A1)
90467-09026-00
Unavailable
57
TUBE, FLEXIBLE VINYL(8AK)
91A20-05080-00
Unavailable
58
CARBURETOR ASSEMBLY 2
83X-14102-00-00
Unavailable
61
. TOP, MIXING CHAMBER
3R4-14158-00-00
Unavailable
64
. SPRING
8X6-14589-00-00
Unavailable
65
. GUIDE, CABLE
8X6-14155-00-00
Unavailable
67
. PLATE, STARTER LVR
8A7-14178-00-00
Unavailable
73
SPRING, AIR ADJUSTING
127-14134-00-00
Unavailable
74
AIR SCREW SET
23X-14104-00-00
Unavailable
75
PLUNGER, STARTER
8U9-14171-00-00
Unavailable
76
GASKET, FLOAT CHAMBER BODY
363-14184-00-00
Unavailable
77
. JET, PILOT #40
193-14142-40-A1
Unavailable
77
. JET, PILOT (#45)
193-14142-45-A1
Unavailable
78
JET, MAIN #180
137-14143-36-A1
Unavailable
78
JET, MAIN #200
137-14143-40-A1
Unavailable
78
JET, MAIN #210
137-14143-42-A1
Unavailable
78
JET, MAIN #220
137-14143-44-A1
Unavailable
78
JET, MAIN #230
137-14143-46-A1
Unavailable
78
JET, MAIN #240
137-14143-48-A1
Unavailable
78
JET, MAIN #250
137-14143-50-A1
Unavailable
78
JET, MAIN #270
137-14143-54-A1
Unavailable
78
JET, MAIN #290
137-14143-58-A1
Unavailable
78
JET, MAIN #310
137-14143-62-A1
Unavailable
78
JET, MAIN #330
137-14143-66-A1
Unavailable
79
. NOZZLE, MAIN
80N-14141-50-00
Unavailable
80
. ARM, FLOAT
363-14187-00-00
Unavailable
81
JET, MAIN (#130)
3G2-14231-26-A0
Unavailable
82
VALVE SEAT ASSY (1.5)
500-14190-15-00
Unavailable
83
PIN, FLOAT
537-14186-00-00
Unavailable
84
WASHER,VALVE SEAT
239-14195-00-00
Unavailable
85
. VALVE, THROTTLE 1
80N-14112-25-00
Unavailable
86
. SCREW, THROTTLE
40T-14122-00-00
Unavailable
87
SPRING, THROTTLE STOP
137-14133-00-00
Unavailable
88
. SEAT, SPRING
3V3-14136-00-00
Unavailable
89
CLIP
3FA-14137-00-00
Unavailable
90
. SPRING, THROTTLE VALVE
363-14131-00-00
Unavailable
91
. PLATE
313-14146-00-00
Unavailable
92
HOSE
89A-14987-00-00
Unavailable
93
HOSE
89A-14987-00-00
Unavailable
94
CLIP, PIPE
8A7-14139-00-00
Unavailable
95
SCREW, PAN HEAD(6B0)
97885-05016-00
Unavailable
96
YBS67-5 WASHER, SPRING
92990-05100-00
Unavailable
97
CLIP, PIPE
8U9-14139-00-00
Unavailable
98
CAP
214-14118-00-00
Unavailable
99
. FLOAT
214-14185-00-00
Unavailable
100
. WASHER, NEEDLE
2H0-14235-00-00
Unavailable
101
PILOT JET, AIR (#1.4)
239-14172-14-00
Unavailable
102
. HOSE
22U-14987-00-00
Unavailable
103
. SETTER, NEEDLE JET
276-14145-00-00
Unavailable
104
O-RING
214-14147-00-00
Unavailable
105
WASHER,MAIN JET
137-14153-00-00
Unavailable
106
. NEEDLE
275-14116-A0-00
Unavailable
107
. PLATE
510-14146-00-00
Unavailable
108
NIPPLE
8J0-14251-00-00
Unavailable
109
. NUT, CABLE ADJUSTING
80N-14161-00-00
Unavailable
110
. SWITCH, CARBURETOR
80N-8259A-01-00
Unavailable
111
. PLATE
80N-14243-00-00
Unavailable
112
. O-RING
80N-14147-00-00
Unavailable
113
CLIP (8A1)
90467-09026-00
Unavailable
114
TUBE,FLEXIBLE VINYL(85R)
91A30-05080-00
Unavailable
115
NUT, AJUSTING
8A7-26323-00-00
Unavailable
