- Partiron
- OEM Parts
- Yamaha
- motorcycle
- 2013
- VMX17DC (V-MAX CA) 2CE2 2013
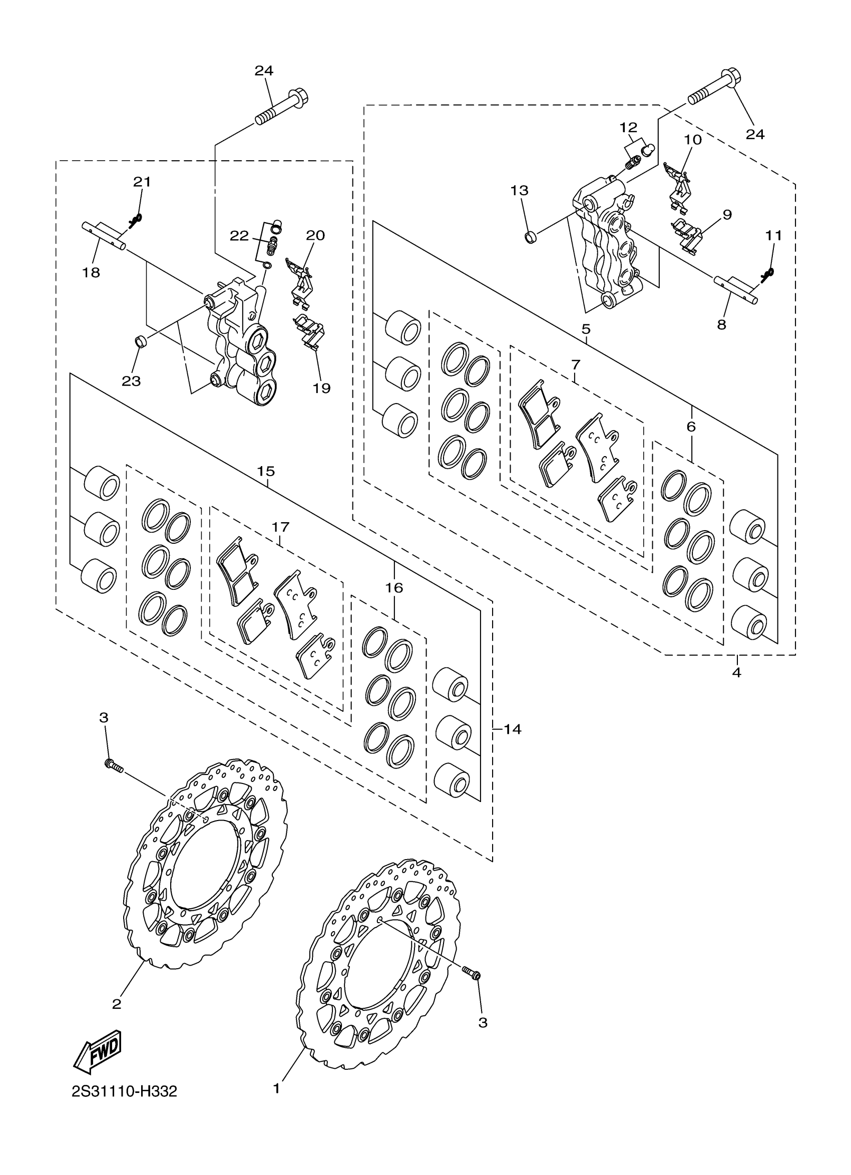
FRONT BRAKE CALIPER
Yamaha VMX17DC (V-MAX CA) 2CE2 2013 FRONT BRAKE CALIPER Diagram
#
Description
Price
1
DISK BRAKE ASSY
2S3-2581T-00-00
Unavailable
2
DISC BRAKE ASSY (RIGHT)
2S3-2581U-00-00
Unavailable
4
CALIPER ASSY (LEFT)
4C8-2580T-10-00
Unavailable
5
PISTON ASSY, CALIPER
4C8-25802-00-00
Unavailable
10
SUPPORT, PAD
2S3-25919-10-00
Unavailable
12
BLEED SCREW KIT
1J3-W0048-00-00
Unavailable
13
PIN, KNOCK
5VY-2583B-00-00
Unavailable
14
CALIPER ASSY (RIGHT)
2S3-2580U-00-00
Unavailable
15
PISTON ASSY, CALIPER
4C8-25802-00-00
Unavailable
20
SUPPORT, PAD
2S3-25919-10-00
Unavailable
22
BLEED SCREW KIT
5VS-W0048-00-00
Unavailable
23
PIN, KNOCK
5VY-2583B-00-00
Unavailable
24
BOLT, FLANGE
90105-10397-00
Unavailable
