Yamaha VMX12WC (V-MAX 1200 CA) 3JP2 1989 AIR FILTER Diagram
#
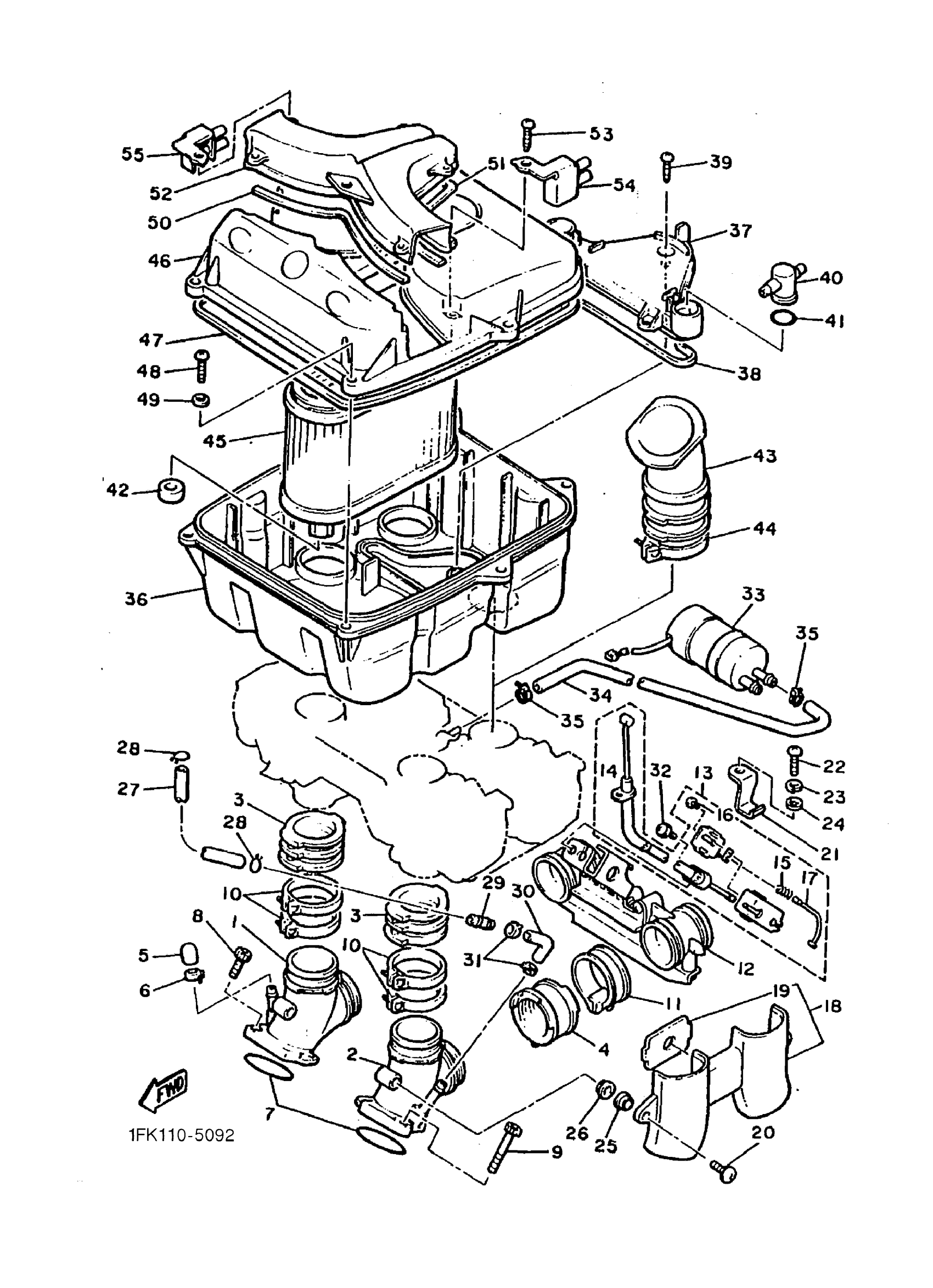
1
JOINT, CARBURETOR 1
1FK-13586-00-00
Unavailable
2
JOINT, CARBURETOR 2
1FK-13596-00-00
Unavailable
4
JOINT
1FK-13595-01-00
Unavailable
8
BOLT,SOCKET
91317-06020-00
Unavailable
10
HOSE CLAMP ASSY
90450-53005-00
Unavailable
11
CLAMP, HOSE(1FK)
90460-49274-00
Unavailable
12
VALVE ASSY.
1UT-13510-00-00
Unavailable
13
WIRE PULLEY ASS'Y
1FK-1130E-00-00
Unavailable
14
WIRE PULLEY ASS'Y
1FK-1130E-00-00
Unavailable
16
BOLT, BUTTON
92017-05010-00
Unavailable
17
. CABLE, PULLEY 2
1FK-1133F-00-00
Unavailable
18
COVER, VALVE
1FK-13550-00-00
Unavailable
19
DAMPER
1FK-13593-00-00
Unavailable
20
SCREW, BINDING(1FK)
90154-06033-00
Unavailable
21
CLAMP
90462-20149-00
Unavailable
22
SCREW, PAN HEAD(3LA)
98517-05010-00
Unavailable
23
WASHER(3SX)
92907-05100-00
Unavailable
24
WASHER(1RW)
92907-05600-00
Unavailable
25
GROMMET (462)
90480-13018-00
Unavailable
26
COLLAR (899 INTAKE)
90387-06500-00
Unavailable
27
HOSE (L400)
90445-082A9-00
Unavailable
28
CLIP (16G)
90467-08021-00
Unavailable
29
NOZZLE
41R-14489-00-00
Unavailable
30
HOSE (L270)
90445-09757-00
Unavailable
31
CLIP(41W)
90467-08092-00
Unavailable
32
SCREW, WITH WASHER
90159-05119-00
Unavailable
33
FUEL PUMP COMP.
1FK-13907-02-00
Unavailable
34
HOSE (L300)
90445-126E7-00
Unavailable
35
CLIP(3BM)
90467-10135-00
Unavailable
36
CASE, AIR CLEANER 1
1FK-14411-01-00
Unavailable
37
COVER 1
1FK-14417-00-00
Unavailable
38
SEAL
1VJ-14462-00-00
Unavailable
39
SCREW, PAN TAP.2 SLIT
97707-50614-00
Unavailable
40
JOINT
1FK-14454-00-00
Unavailable
41
O-RING (25G)
93210-20573-00
Unavailable
42
FILTER
1FK-1445E-00-00
Unavailable
43
JOINT, AIR CLEANER 1
1FK-14453-00-00
Unavailable
44
HOSE CLAMP ASSY
90450-62006-00
Unavailable
45
ELEMENT, AIR CLEANER
1FK-14451-00-00
Unavailable
46
CAP, CLEANER CASE 1
1FK-14412-00-00
Unavailable
47
SEAL
1VJ-14462-00-00
Unavailable
48
SCREW, PAN HEAD
98517-05020-00
Unavailable
49
WASHER, PLAIN (646)
92990-05600-00
Unavailable
50
SEAL
1VJ-14462-00-00
Unavailable
51
SEAL
1VJ-14462-00-00
Unavailable
52
DUCT
1FK-14437-00-00
Unavailable
53
SCREW, PAN TAP.2 SLIT
97707-50614-00
Unavailable
54
STAY
1FK-14413-00-00
Unavailable
55
STAY 2
1FK-14414-00-00
Unavailable
