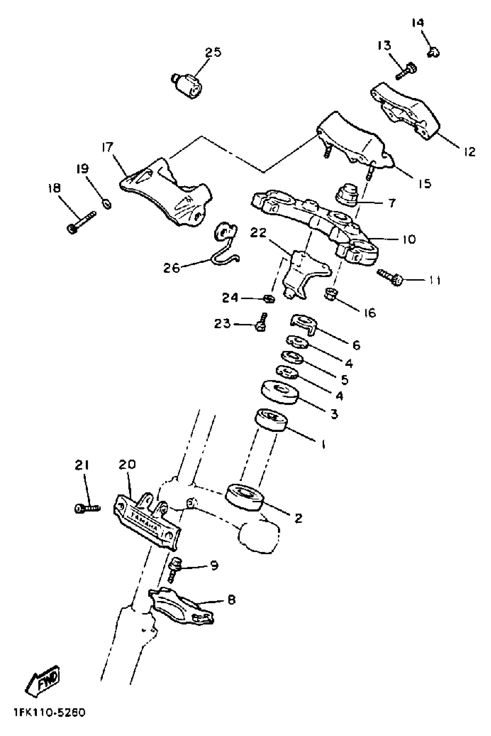
Yamaha VMX12SC (V-MAX 1200 CA) 1UR 1986 STEERING Diagram
#
Description
Price
8
BRACE, FORK
1FK-2313A-00-00
Unavailable
10
CROWN, HANDLE
1FK-23435-00-00
Unavailable
12
HOLDER, HANDLE UPPER
1FK-23441-00-38
Unavailable
15
HOLDER, HANDLE LOWER
1FK-23442-00-38
Unavailable
16
NUT, SELF-LOCKING
90185-10170-00
Unavailable
17
COVER, CROWN
1FK-23437-00-38
Unavailable
18
BOLT,SOCKET
91314-06050-00
Unavailable
19
WASHER, PLATE (4H7)
90201-061A5-00
Unavailable
20
STAY, HEADLIGHT
1FK-23174-00-00
Unavailable
21
BOLT,SOCKET HEAD
91314-06020-00
Unavailable
22
STAY, PLATE
1FK-23486-00-00
Unavailable
23
BOLT (661)
97013-06012-00
Unavailable
24
WASHER, SPRING
92995-06100-00
Unavailable
25
STEERING LOCK ASSY
2A6-23408-00-00
Unavailable
26
HOLDER, CABLE
1FK-23317-00-00
Unavailable
