- Partiron
- OEM Parts
- Yamaha
- motorcycle
- 1985
- VMX12NC (V-MAX 1200 CA) 1JH 1985
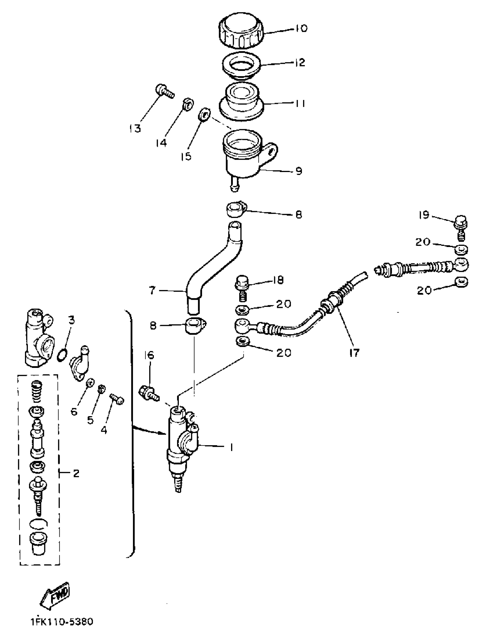
REAR MASTER CYLINDER
Yamaha VMX12NC (V-MAX 1200 CA) 1JH 1985 REAR MASTER CYLINDER Diagram
#
Description
Price
1
MASTER CYLINDER ASSY
1FK-25850-50-00
Unavailable
4
SCREW, PAN HEAD
98511-04012-00
Unavailable
7
HOSE, RESERVOIR
1FK-25895-00-00
Unavailable
8
CLAMP, HOSE
90460-12268-00
Unavailable
14
WASHER, SPRING
92995-06100-00
Unavailable
16
BOLT, SMALL FLANGE
95027-08020-00
Unavailable
17
BRKE,HOSE
99999-02772-00
Unavailable
18
BOLT, UNION(3GM)
90401-10159-00
Unavailable
19
BOLT, UNION(3GM)
90401-10159-00
Unavailable
20
WASHER, PLATE(481)
90201-10118-00
Unavailable
