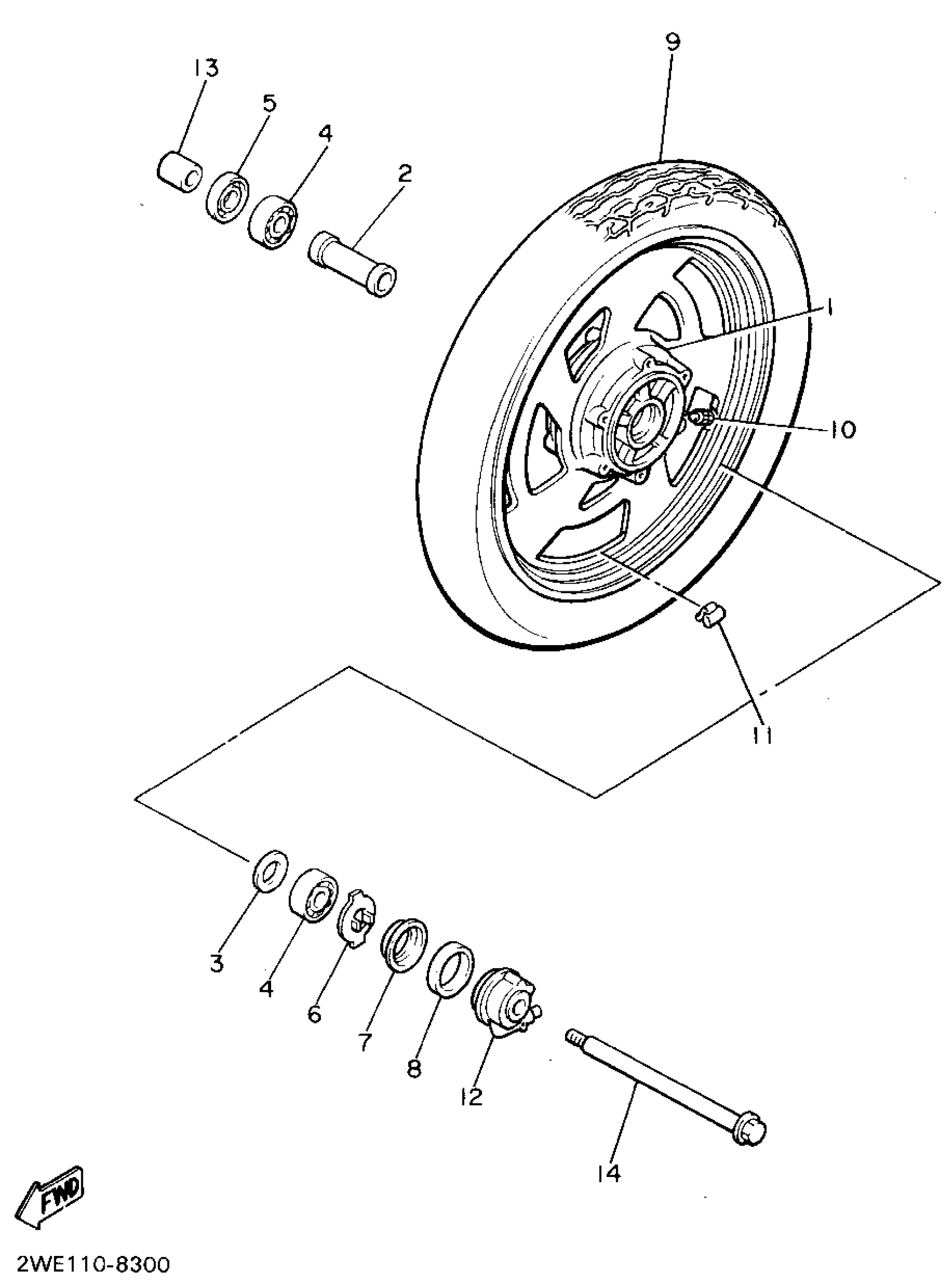
Yamaha VMX12GC (V-MAX 1200 CA) 3JPJ 1995 FRONT WHEEL Diagram
#
Description
Price
1
CAST WHEEL, FRONT
2HY-25168-00-P0
Unavailable
9
TIRE(3JP)
94111-1805F-00
Unavailable
11
BALANCER, WHEEL
5MT-25398-20-00
Unavailable
14
AXLE, WHEEL
1FK-25181-09-00
Unavailable
