- Partiron
- OEM Parts
- Suzuki
- Motorcycle
- 2022
- VL800M2 (2022)
FRONT MASTER CYLINDER
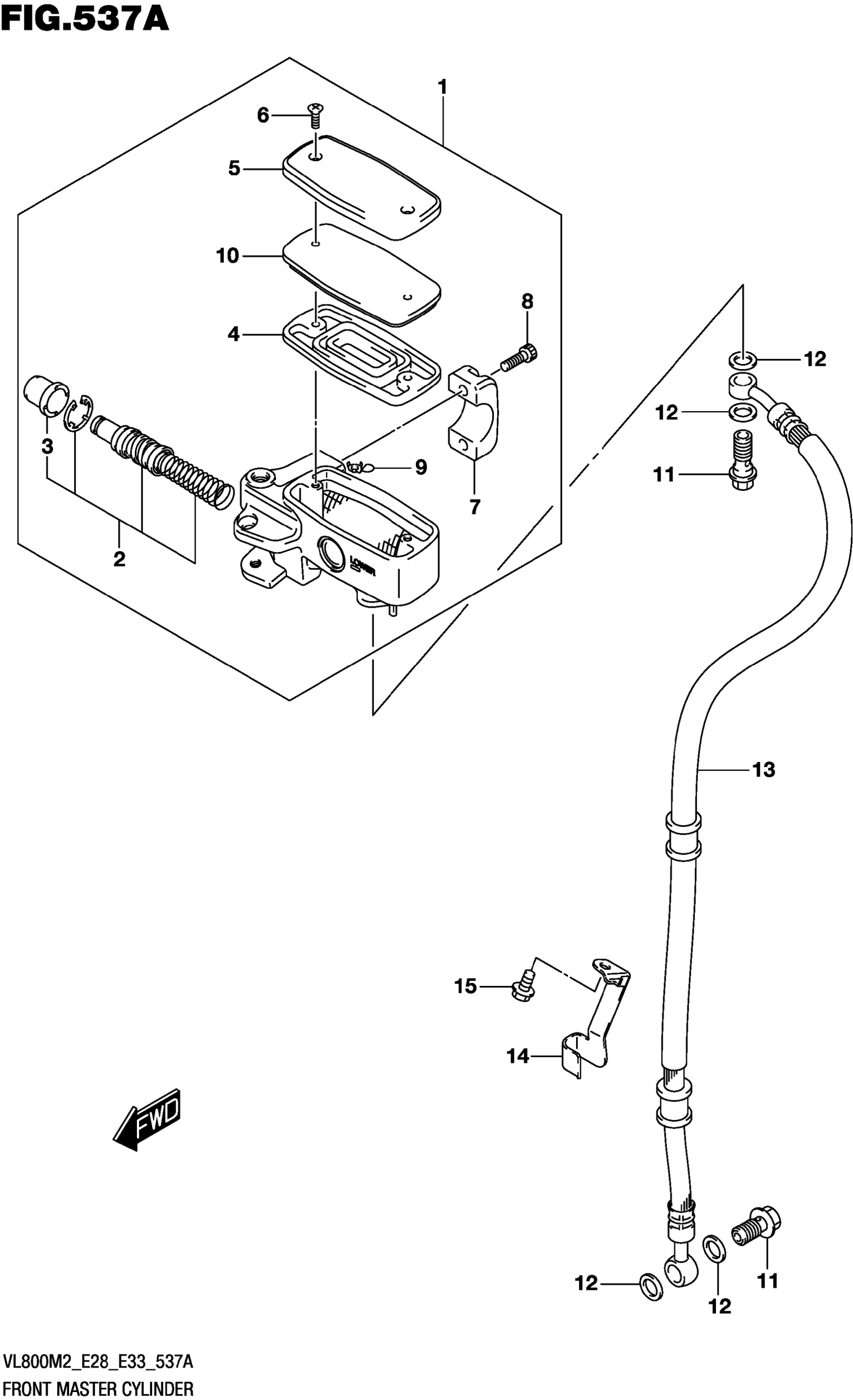
Suzuki VL800M2 (2022) FRONT MASTER CYLINDER Diagram
#
Description
Price
1
CYLINDER ASSY, FRONT MASTER
59600-10FH0
Unavailable
14
CLAMP,FR BRAKE HOSE UPPER
59266-43H00
Unavailable
