- Partiron
- OEM Parts
- Suzuki
- Motorcycle
- 2021
- VL800M1 (2021)
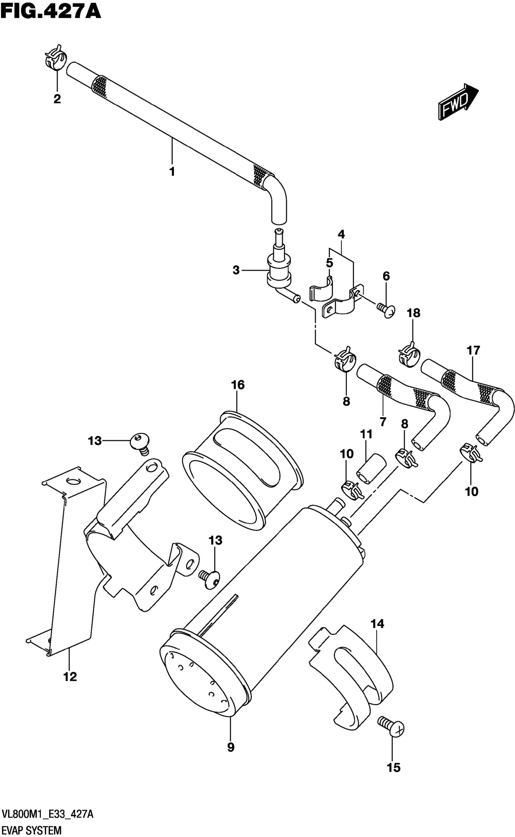
EVAP SYSTEM
Suzuki VL800M1 (2021) EVAP SYSTEM Diagram
#
Description
Price
12
BRACKET,FI CONT UNIT
44880-43H00
Unavailable
13
SCREW (6X12)
09139-06108
Unavailable
14
HOLDER,CANISTER
44882-26E00
Unavailable
16
CUSHION CANISTER
44883-26E00
Unavailable
