Partiron

Suzuki VL800M1 (2021) BATTERY Diagram

#

Description
Price

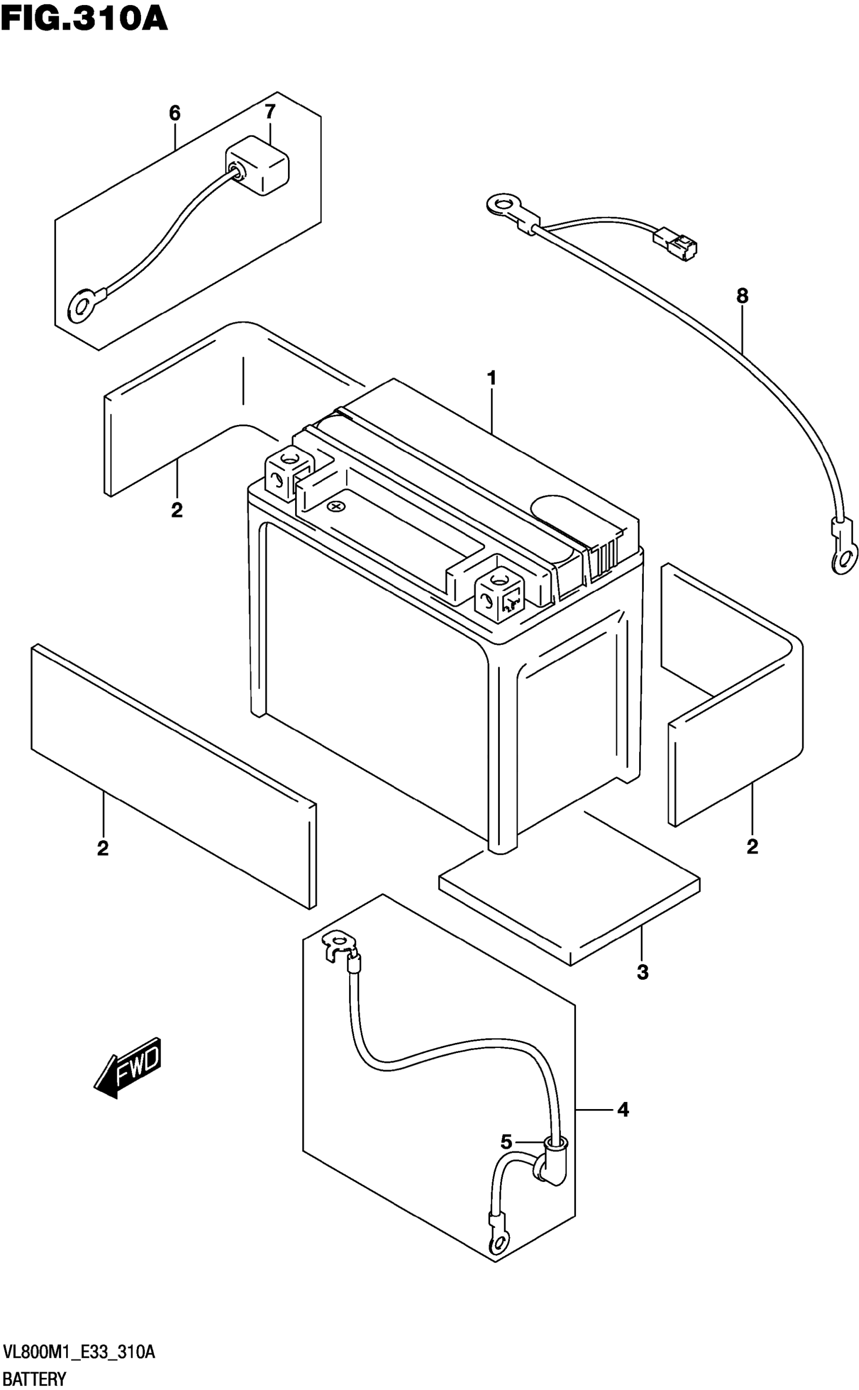
1

BATTERY (FTX12-BS,12V,10AH) | ) This part replaces 33630-48E01.

33610-48E20

$98.67

2

PROTECTOR (170X95X3.0) | CUT AS REQUIRED PROFILE$(20X90)

33651-37000

$4.48

3

PROTECTOR (50X50X5)

33652-20C00

$2.99

4

WIRE,STARTER MOTOR LEAD

33810-41F01

$22.72

5

.CAP,STARTER MOTOR LEAD

31861-48B10

$6.55

6

WIRE,BATTERY PLUS LEAD

33820-48E01

$20.00

7

.CAP,BATTERY PLUS

33624-16E00

$6.00

8

WIRE,BATTERY MINUS

33860-41F00

$31.22