- Partiron
- OEM Parts
- Suzuki
- Motorcycle
- 2018
- VL800L8 (2018)
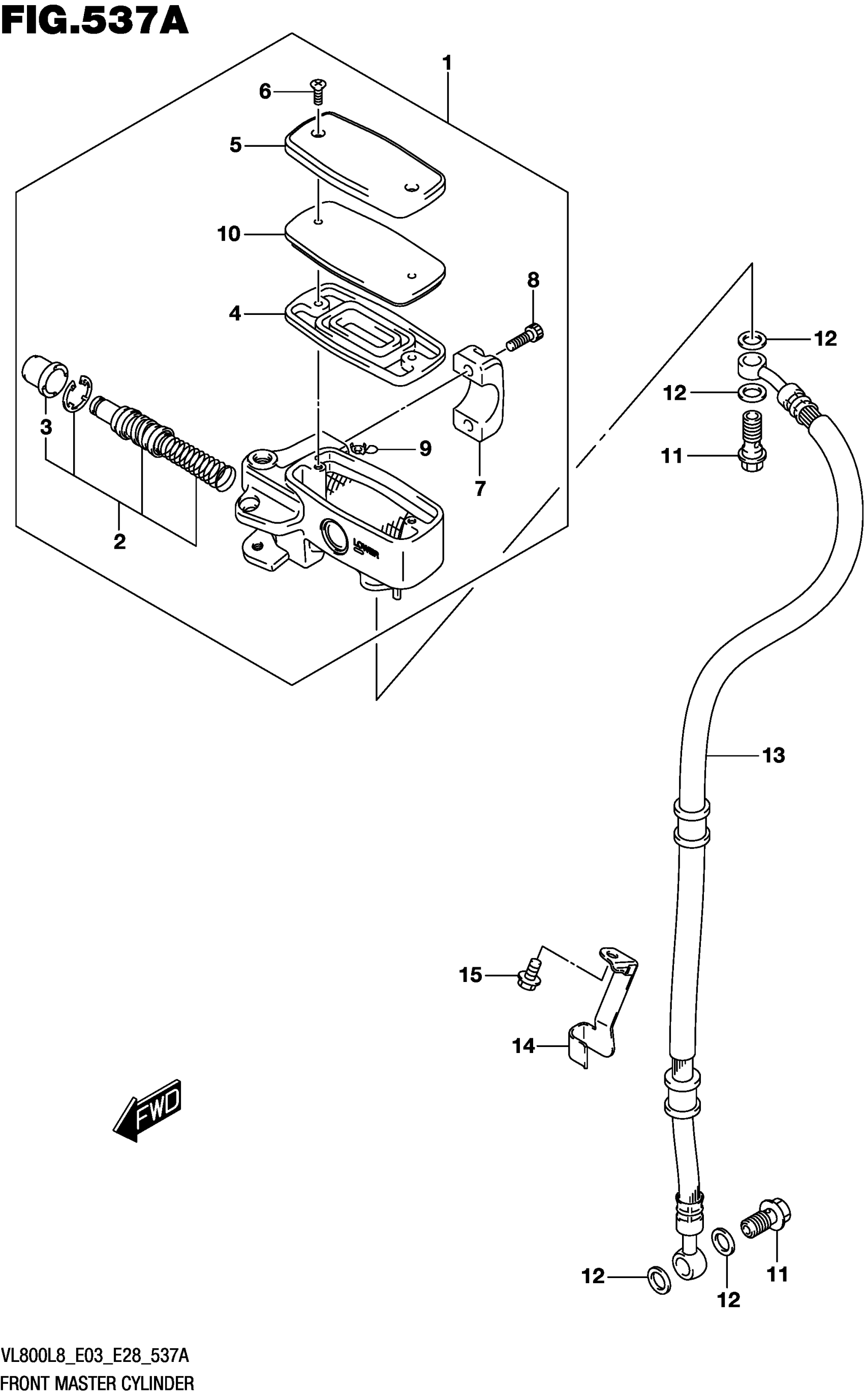
FRONT MASTER CYLINDER
Suzuki VL800L8 (2018) FRONT MASTER CYLINDER Diagram
#
Description
Price
1
CYLINDER ASSY, FRONT MASTER
59600-10FH0
Unavailable
14
CLAMP,FR BRAKE HOSE UPPER
59266-43H00
Unavailable
