- Partiron
- OEM Parts
- Suzuki
- Motorcycle
- 2013
- VL800CL3 (2013)
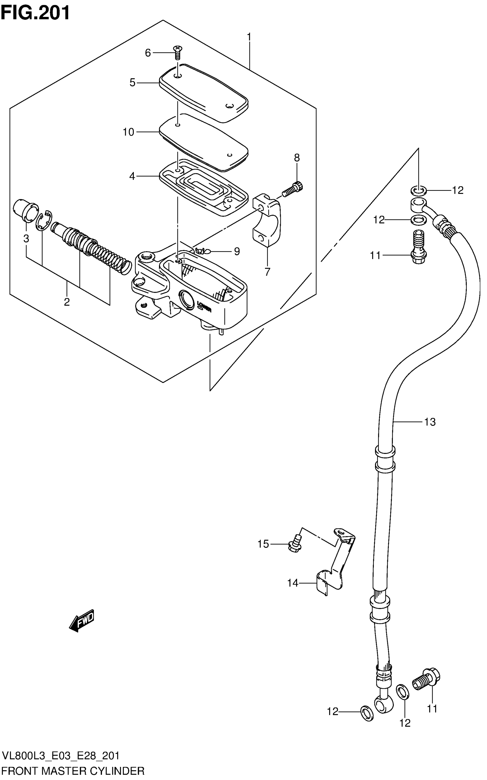
FRONT MASTER CYLINDER
Suzuki VL800CL3 (2013) FRONT MASTER CYLINDER Diagram
#
Description
Price
14
CLAMP, BRAKE HOSE UPPER
59266-43H00
Unavailable
