- Partiron
- OEM Parts
- Suzuki
- Motorcycle
- 2016
- VL1500TL6 (2016)
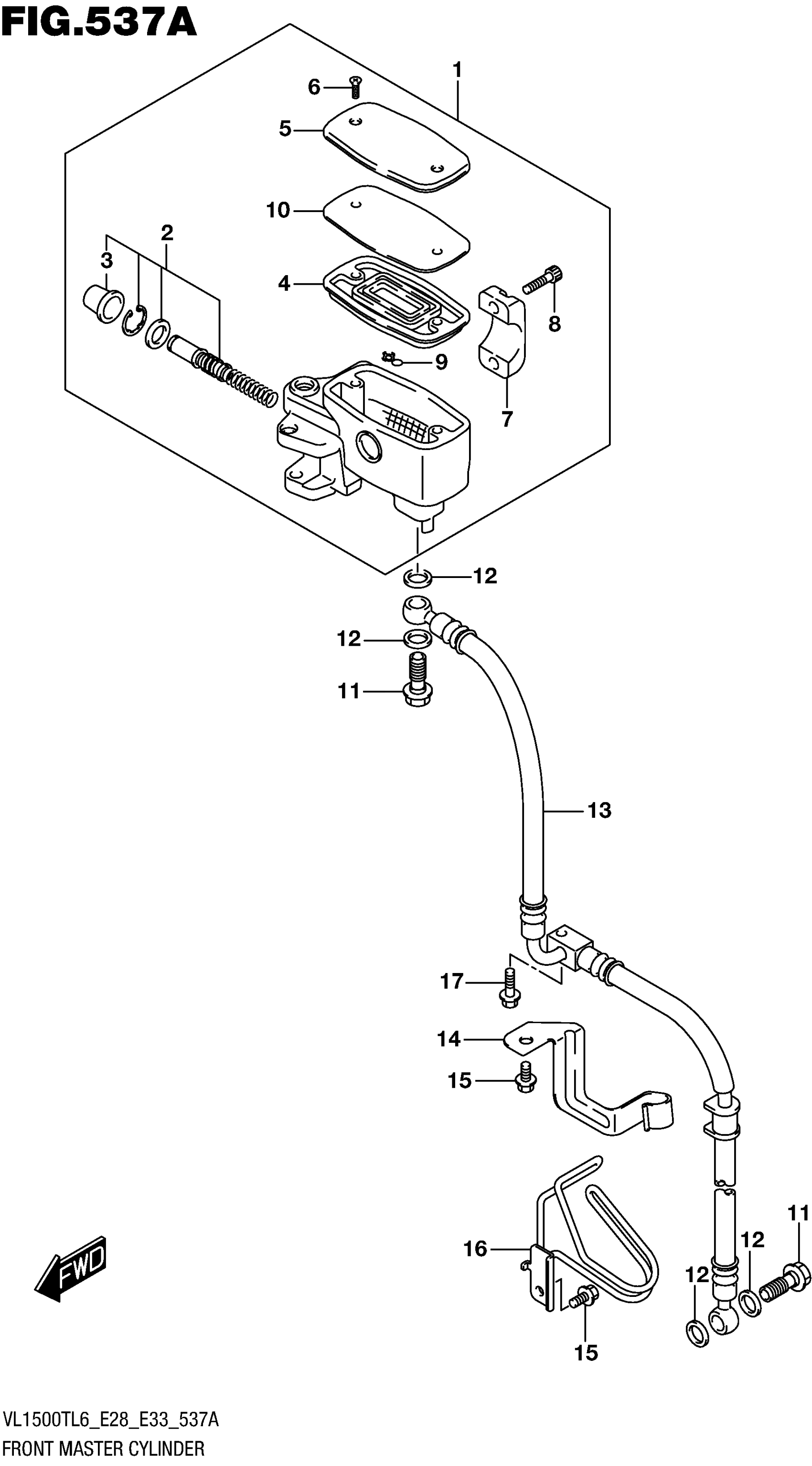
FRONT MASTER CYLINDER
Suzuki VL1500TL6 (2016) FRONT MASTER CYLINDER Diagram
#
Description
Price
14
CLAMP, FRONT BRAKE HOSE LH
59271-06J00
Unavailable
16
GUIDE, FRONT BRAKE HOSE
59540-06J00
Unavailable
