- Partiron
- OEM Parts
- Suzuki
- Motorcycle
- 2015
- VL1500L5 (2015)
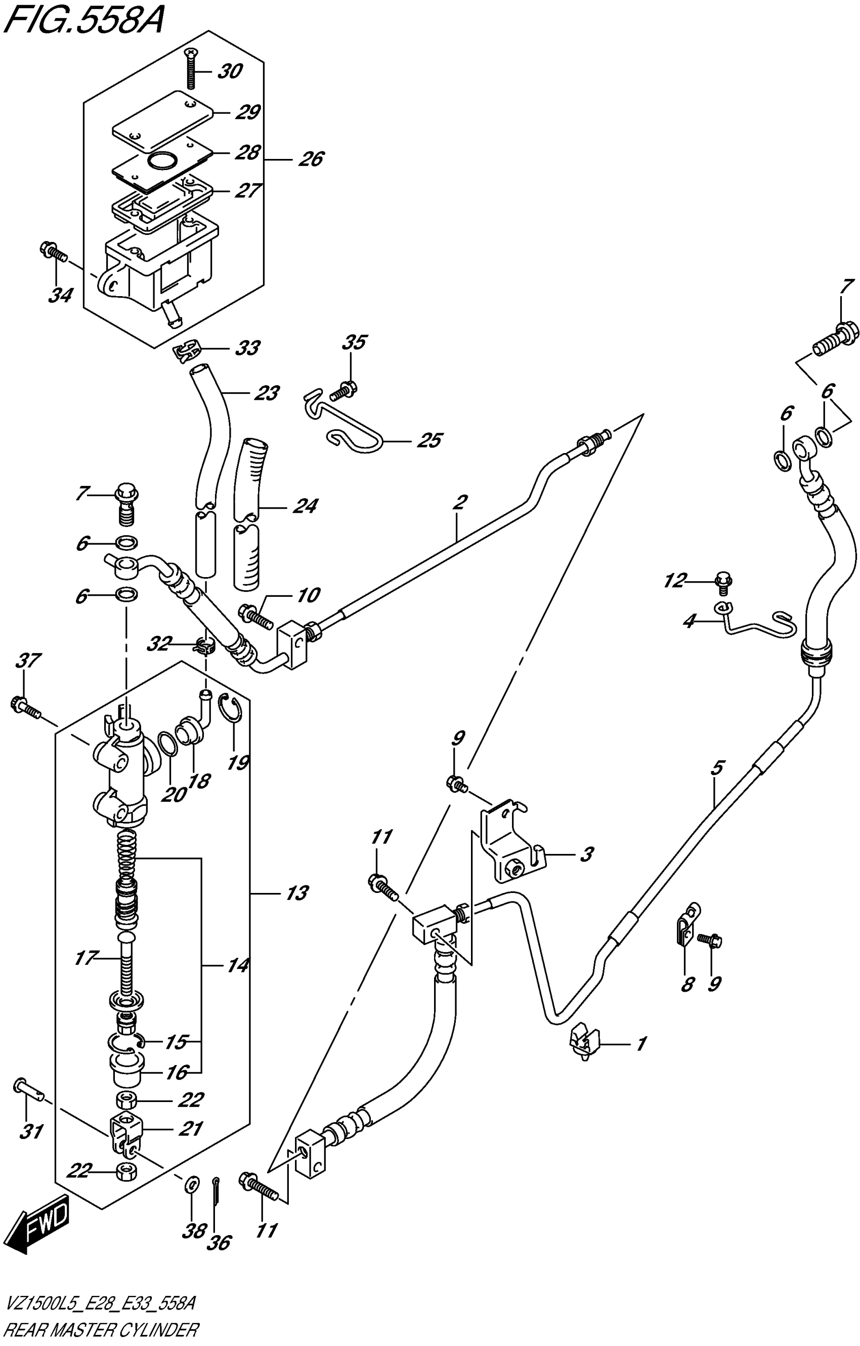
REAR MASTER CYLINDER
Suzuki VL1500L5 (2015) REAR MASTER CYLINDER Diagram
#
Description
Price
1
CLAMP, RR BRAKE PIPE
51761-79J00
Unavailable
2
HOSE ASSY, RR BRAKE NO.1
69200-40H00
Unavailable
3
CLAMP, REAR BRAKE HOSE
69260-40H00
Unavailable
4
GUIDE, RR BRAKE HOSE
69278-40H10
Unavailable
8
CLAMP
09403-07401
Unavailable
13
CYLINDER ASSY, REAR MASTER
69600-48G10
Unavailable
17
ROD, PUSH
69670-44B00
Unavailable
23
HOSE, REAR RESERVOIR TANK
69730-40H00
Unavailable
24
HEATSHIELD, RR RESERVOIR TANK
69732-40H00
Unavailable
25
GUIDE, RR RESERVER TANK HOSE
69738-40H10
Unavailable
26
TANK ASSY, REAR RESERVOR
69740-40H10
Unavailable
29
CAP
59669-10G10
Unavailable
30
SCREW
69689-40H00
Unavailable
