- Partiron
- OEM Parts
- Suzuki
- Motorcycle
- 2015
- VL1500L5 (2015)
RADIATOR
Suzuki VL1500L5 (2015) RADIATOR Diagram
#
Description
Price
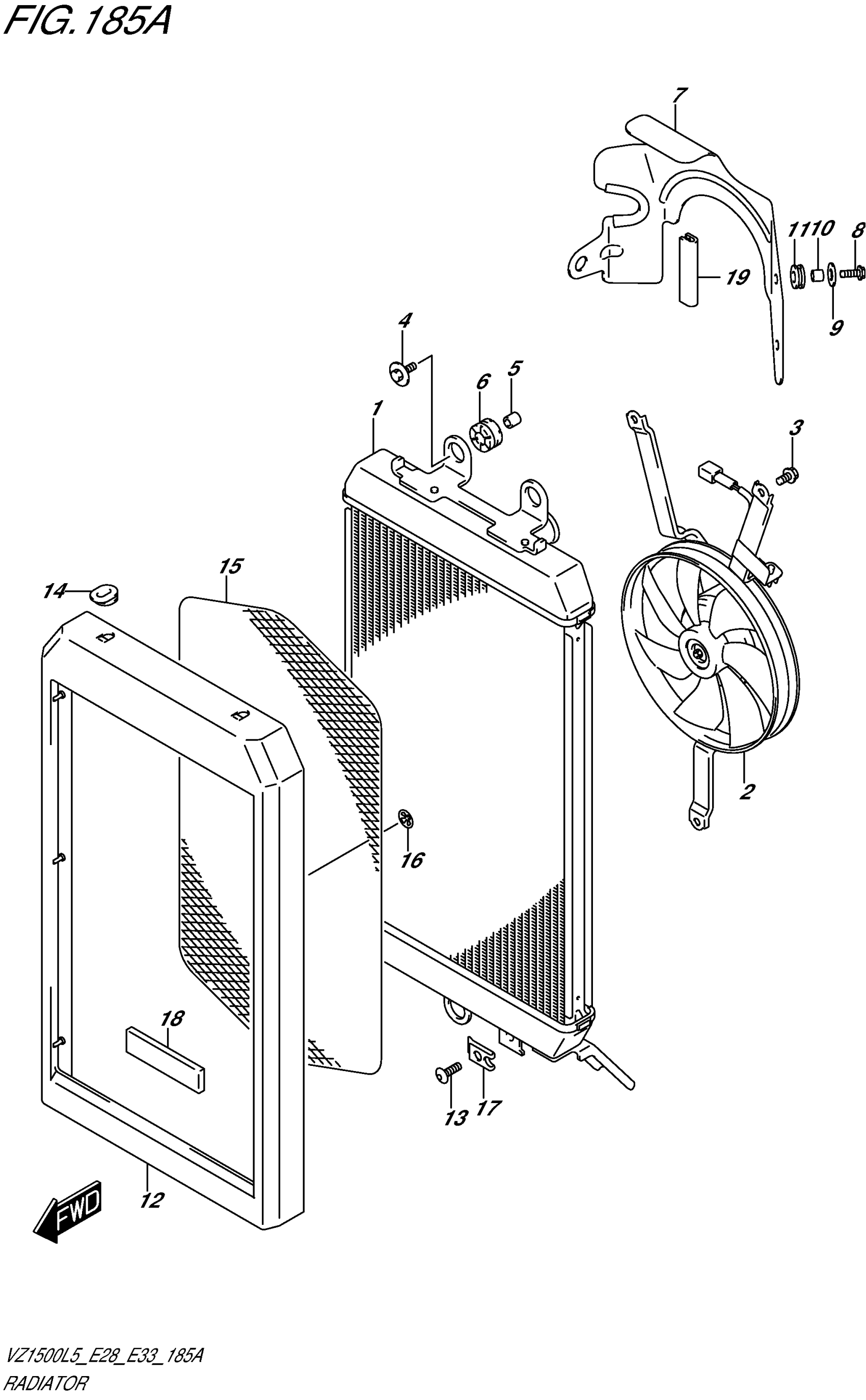
3
BOLT
17711-40H00
Unavailable
7
SHIELD, RADIATOR HEAT
17771-40H10
Unavailable
15
NET, RADIATOR COVER
17765-40H00
Unavailable
18
CUSHION
92141-43EU0
Unavailable
19
MOLDING
17762-18H00
Unavailable
