- Partiron
- OEM Parts
- Suzuki
- Motorcycle
- 2013
- VL1500BTL3 (2013)
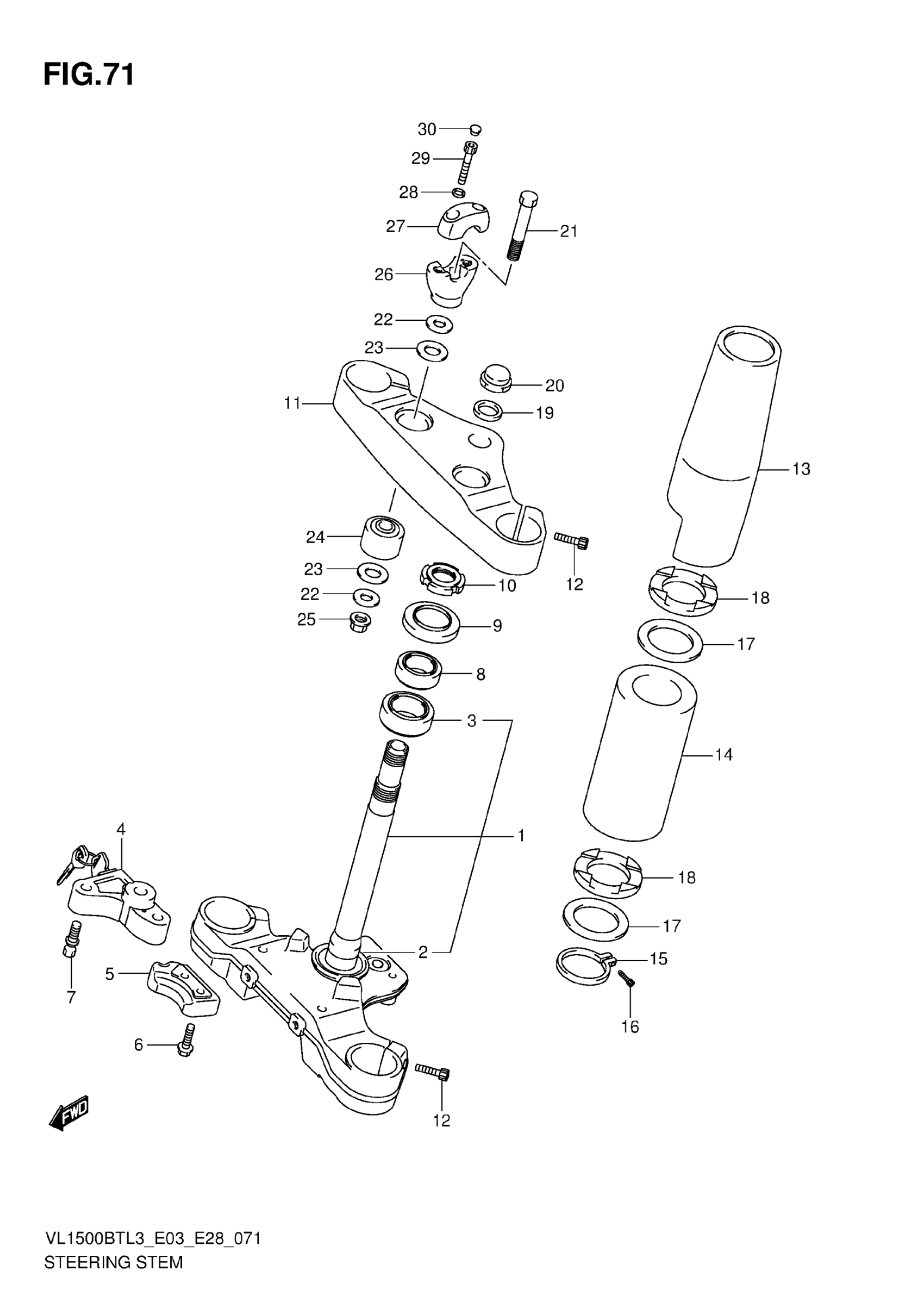
STEERING STEM
Suzuki VL1500BTL3 (2013) STEERING STEM Diagram
#
Description
Price
1
STEM, STEERING
51410-06J00
Unavailable
4
LOCK SET, STEERING
51900-22820
Unavailable
5
BRACKET, STEERING LOCK
51921-40H00
Unavailable
14
CASE, UNDER
51464-06J20
Unavailable
17
WASHER
51467-06J00
Unavailable
18
SEAT
51468-06J00
Unavailable
21
BOLT
51226-10F70
Unavailable
26
HOLDER, HANDLE, LOWER
56221-06J20
Unavailable
27
HOLDER, HANDLE, UPPER
56211-06J20
Unavailable
