- Partiron
- OEM Parts
- Suzuki
- Motorcycle
- 2013
- VL1500BTL3 (2013)
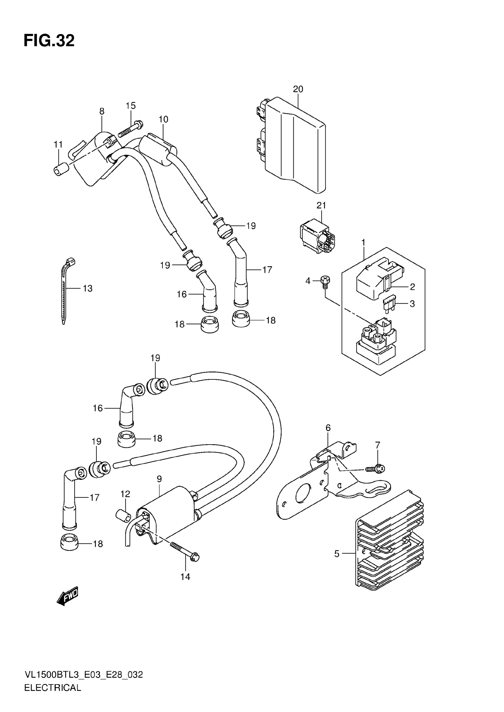
ELECTRICAL (VL1500BTL3 E03)
Suzuki VL1500BTL3 (2013) ELECTRICAL (VL1500BTL3 E03) Diagram
#
Description
Price
6
BRACKET
32830-40H10
Unavailable
10
CUSHION, HIGH TENSION CORD
33442-41F00
Unavailable
