- Partiron
- OEM Parts
- Suzuki
- Motorcycle
- 2019
- VL1500BL9 (2019)
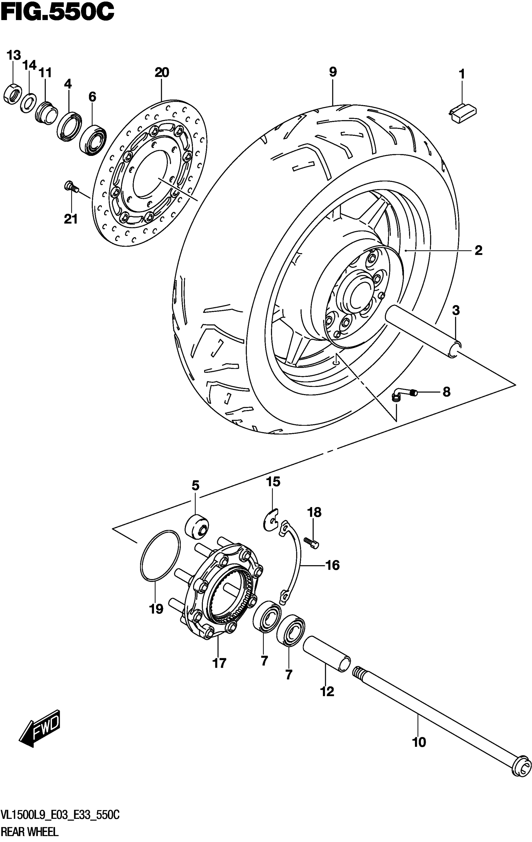
REAR WHEEL (VL1500TL9 E03)
Suzuki VL1500BL9 (2019) REAR WHEEL (VL1500TL9 E03) Diagram
#
Description
Price
9
TIRE | G852 RADIAL G
65110-06J00
Unavailable
9
TIRE | BRIDGESTONE
65110-06J00
Unavailable
