Partiron

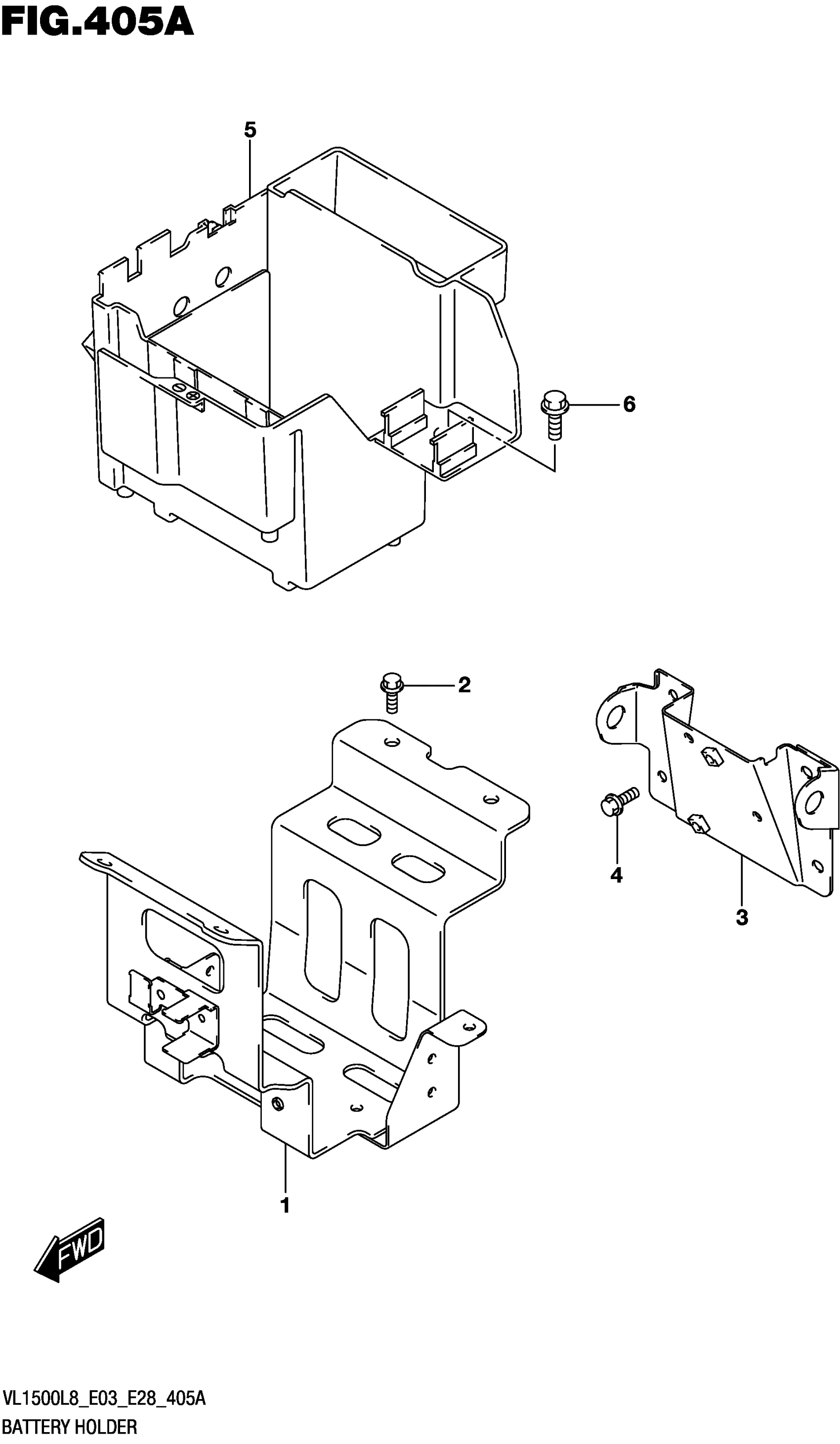
Suzuki VL1500BL8 (2018) BATTERY HOLDER Diagram

#

Description
Price

1

HOLDER

41540-06J10

Unavailable

2

BOLT (8X12)

01550-0812A

$2.32

3

HOLDER

41550-06J00

Unavailable

4

BOLT

01547-0616A

$2.03

5

HOLDER

47431-40H00

Unavailable

6

BOLT (6X16)

09113-06010

$3.27