Partiron

Suzuki VL1500BL7 (2017) HANDLE SWITCH (VL1500BL7 E03) Diagram

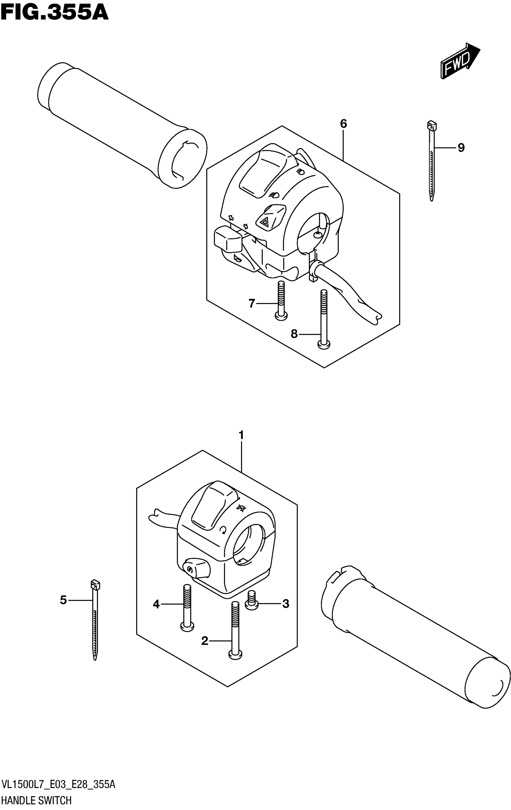
#

Description
Price

1

SWITCH ASSY, HANDLE RH

37200-06J00

$276.52

2

.SCREW

02112-0545B

$2.26

3

.SCREW

02112-0510B

$2.08

4

.SCREW

02112-0535B

$2.23

5

CLAMP (L:145)

09407-14407

$3.57

6

SWITCH ASSY, HANDLE LH

37400-06J00

$306.43

7

.SCREW

02112-0530B

$1.49

8

.SCREW

02112-0545B

$2.26

9

CLAMP (L:145)

09407-14407

$3.57