- Partiron
- OEM Parts
- Suzuki
- Motorcycle
- 2015
- VL1500BL5 (2015)
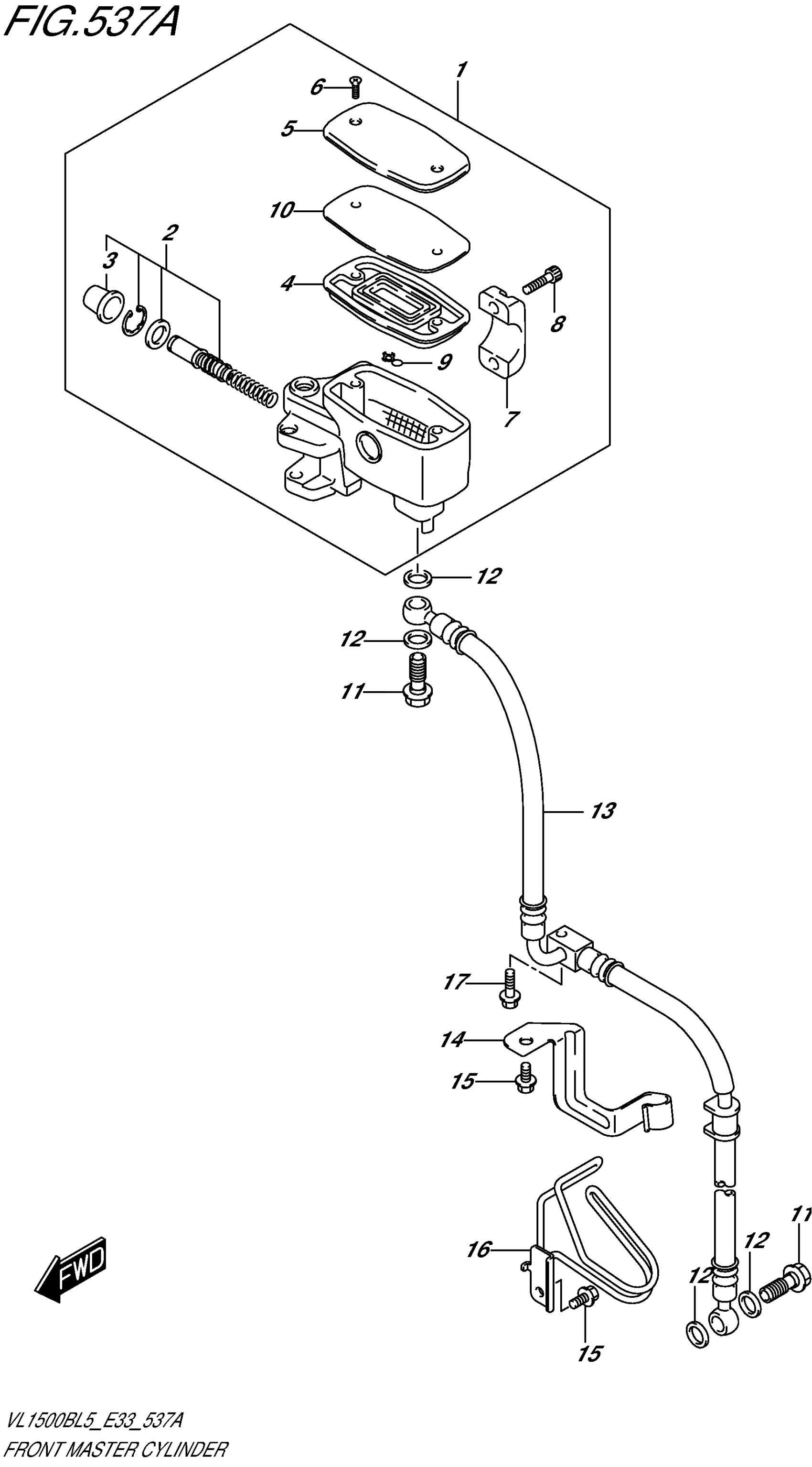
FRONT MASTER CYLINDER
Suzuki VL1500BL5 (2015) FRONT MASTER CYLINDER Diagram
#
Description
Price
7
HOLDER
59671-10F20
Unavailable
14
CLAMP, FRONT BRAKE HOSE LH
59271-06J00
Unavailable
16
GUIDE, FRONT BRAKE HOSE
59540-06J00
Unavailable
