- Partiron
- OEM Parts
- Suzuki
- Motorcycle
- 2014
- VL1500BL4 (2014)
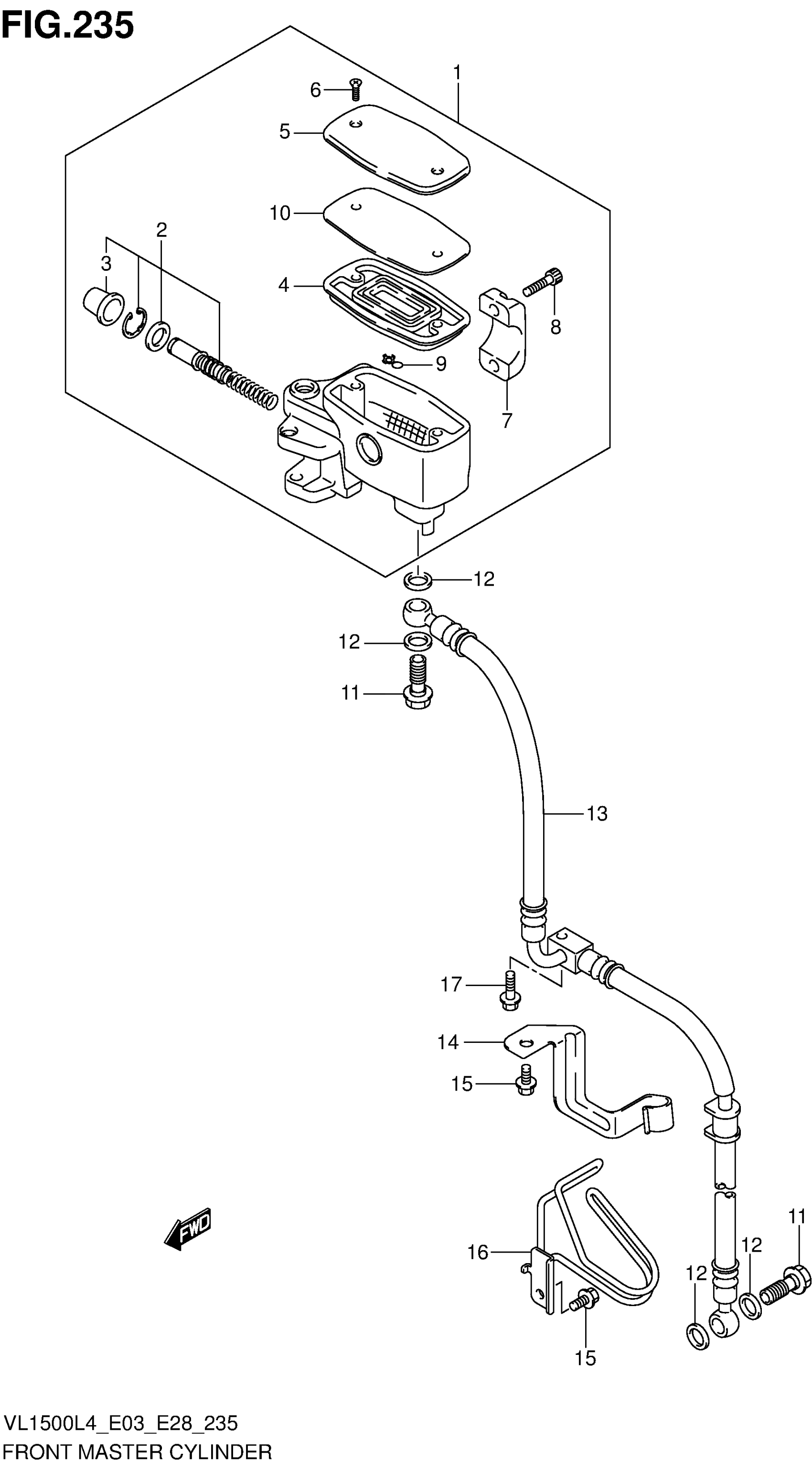
FRONT MASTER CYLINDER (VL1500L4 E28)
Suzuki VL1500BL4 (2014) FRONT MASTER CYLINDER (VL1500L4 E28) Diagram
#
Description
Price
14
CLAMP, FRONT BRAKE HOSE LH
59271-06J00
Unavailable
16
GUIDE, FRONT BRAKE HOSE
59540-06J00
Unavailable
