Yamaha VK5NFKW (VK540) 8KX61 2019 INTAKE Diagram
#
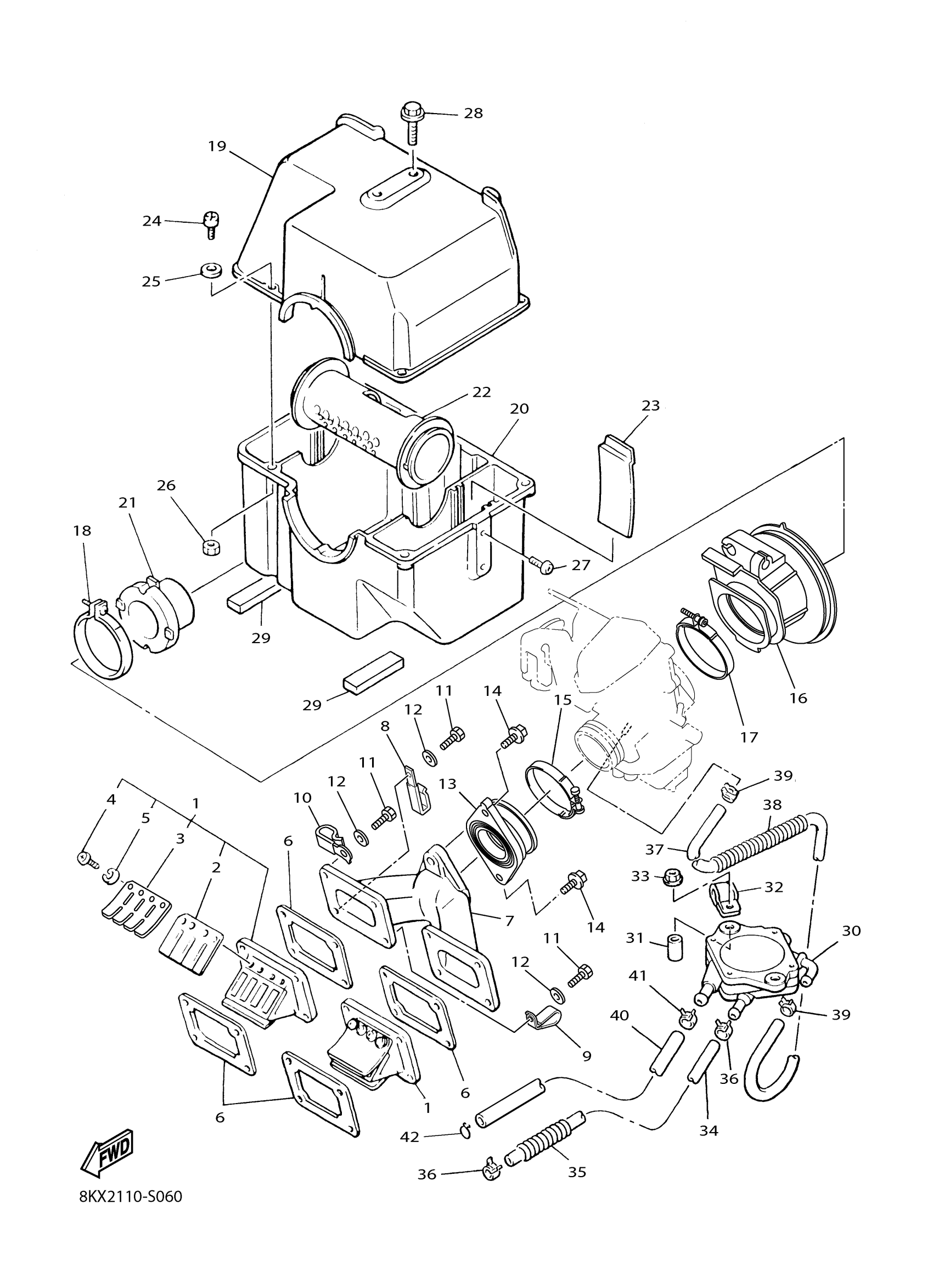
2
REED, VALVE
8KX-13613-00-00
Unavailable
3
STOPPER, REED VALVE
8KX-13616-00-00
Unavailable
7
JOINT, CARBURETOR
83R-13565-00-00
Unavailable
8
CLAMP(51Y)
90465-08277-00
Unavailable
13
MANIFOLD, INTAKE
8KX-13555-00-00
Unavailable
16
JOINT, AIR CLEANER 1
8KX-14453-00-00
Unavailable
17
HOSE CLAMP ASSY
90450-53012-00
Unavailable
18
HOSE CLAMP ASSY(3TU)
90450-99050-00
Unavailable
19
SILENCER
8H8-14431-00-00
Unavailable
20
SILENCER
8H8-14441-00-00
Unavailable
21
PIPE
83R-14465-00-00
Unavailable
22
PIPE, BALANCE 2
8H8-14466-00-00
Unavailable
23
PLATE
8H8-14477-00-00
Unavailable
24
SCREW, PAN HEAD(JJ6)
98507-05016-00
Unavailable
25
WASHER, PLAIN (646)
92990-05600-00
Unavailable
26
NUT, HEXAGON SMALL
95317-05700-00
Unavailable
27
SCREW PAN HEAD
98580-06010-00
Unavailable
28
BOLT, FLANGE
90105-06175-00
Unavailable
29
DAMPER 1
83R-14425-00-00
Unavailable
30
FUEL PUMP ASSY
8AT-24410-00-00
Unavailable
31
COLLAR (8U7)
90387-105G5-00
Unavailable
32
CLAMP (706)
90465-06100-00
Unavailable
33
NUT, FLANGE
95702-06500-00
Unavailable
34
HOSE
90445-11073-00
Unavailable
35
SPRING, COMPRESSION (3LD4)
90501-084G9-00
Unavailable
36
CLIP (7K7)
90467-11044-00
Unavailable
37
HOSE
90445-09033-00
Unavailable
38
SPRING, COMPRESSION(7MX)
90501-084J0-00
Unavailable
39
CLIP (8A1)
90467-09026-00
Unavailable
40
HOSE
90445-11070-00
Unavailable
41
CLIP (7K7)
90467-11044-00
Unavailable
42
CLIP (8J7)
90467-11009-00
Unavailable
