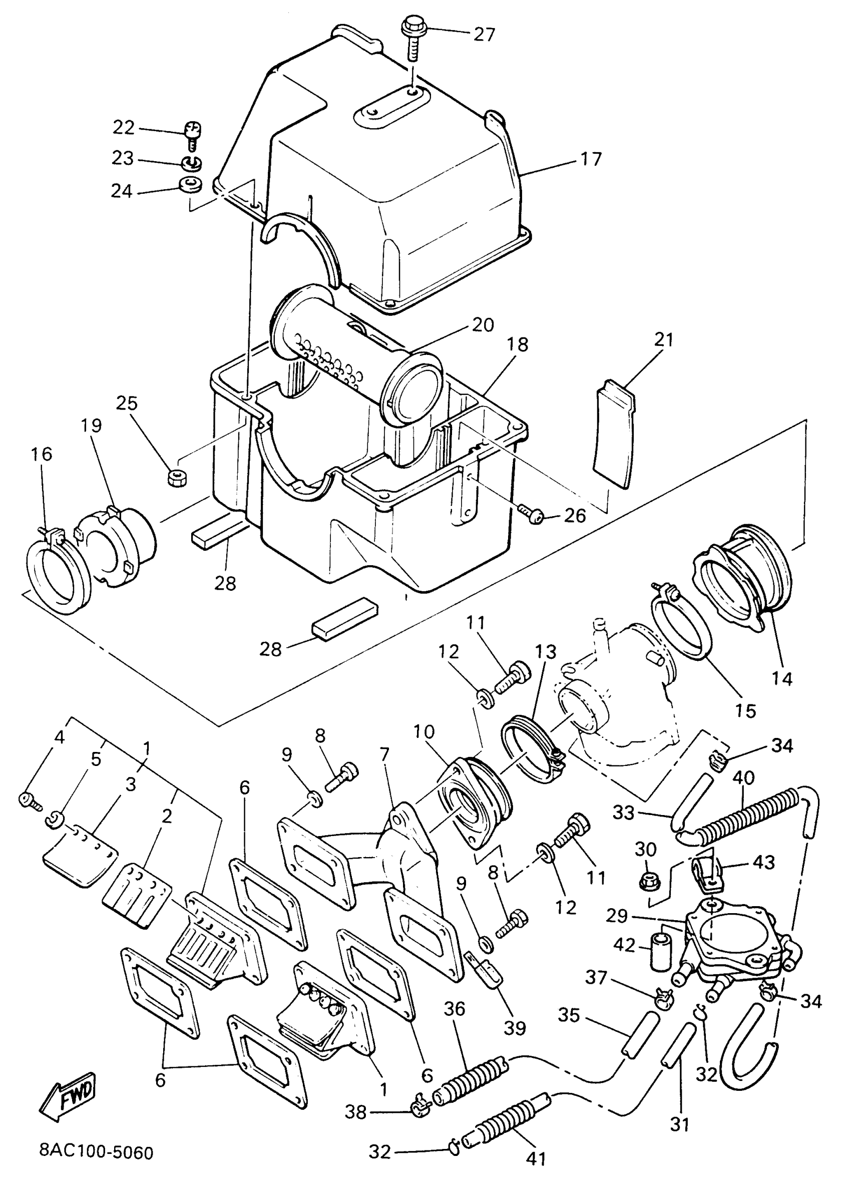
Yamaha VK540EW (VK540 II) 1996 INTAKE Diagram
#
7
JOINT, CARBURETOR
83R-13565-00-00
Unavailable
16
CLAMP,HOSE
90450-99056-00
Unavailable
17
SILENCER
8H8-14431-00-00
Unavailable
18
SILENCER
8H8-14441-00-00
Unavailable
19
PIPE
83R-14465-00-00
Unavailable
20
PIPE, BALANCE 2
8H8-14466-00-00
Unavailable
21
PLATE
8H8-14477-00-00
Unavailable
22
SCREW, PAN HEAD(JJ6)
98507-05016-00
Unavailable
23
WASHER(3SX)
92907-05100-00
Unavailable
24
WASHER(1RW)
92907-05600-00
Unavailable
25
NUT, HEXAGON SMALL
95317-05700-00
Unavailable
26
SCREW, PAN
98507-06010-00
Unavailable
27
BOLT, FLANGE
95817-06012-00
Unavailable
28
DAMPER 1
83R-14425-00-00
Unavailable
29
FUEL PUMP ASSY
8AT-24410-00-00
Unavailable
30
NUT, FLANGE(4MV)
95707-06500-00
Unavailable
31
HOSE (L450)
90445-10144-00
Unavailable
32
CLIP
90467-090A2-00
Unavailable
33
TUBE, FLEXIBLE VINYL(8AK)
91A20-05080-00
Unavailable
34
CLIP (8A1)
90467-09026-00
Unavailable
35
TUBE, FLEXIBLE VINYL
91A20-07008-00
Unavailable
36
PROTECTOR, PIPE
84M-24327-00-00
Unavailable
37
CLIP (7K7)
90467-11044-00
Unavailable
38
CLIP (8J7)
90467-11009-00
Unavailable
39
CLAMP(51Y)
90465-08277-00
Unavailable
40
SPRING, COMPRESSION(7MX)
90501-084J0-00
Unavailable
41
SPRING, COMPRESSION (3LD4)
90501-084G9-00
Unavailable
42
COLLAR (8U7)
90387-105G5-00
Unavailable
43
CLAMP (706)
90465-06100-00
Unavailable
