Partiron

Yamaha VK540ET (VK540 II) 1993 SEAT Diagram

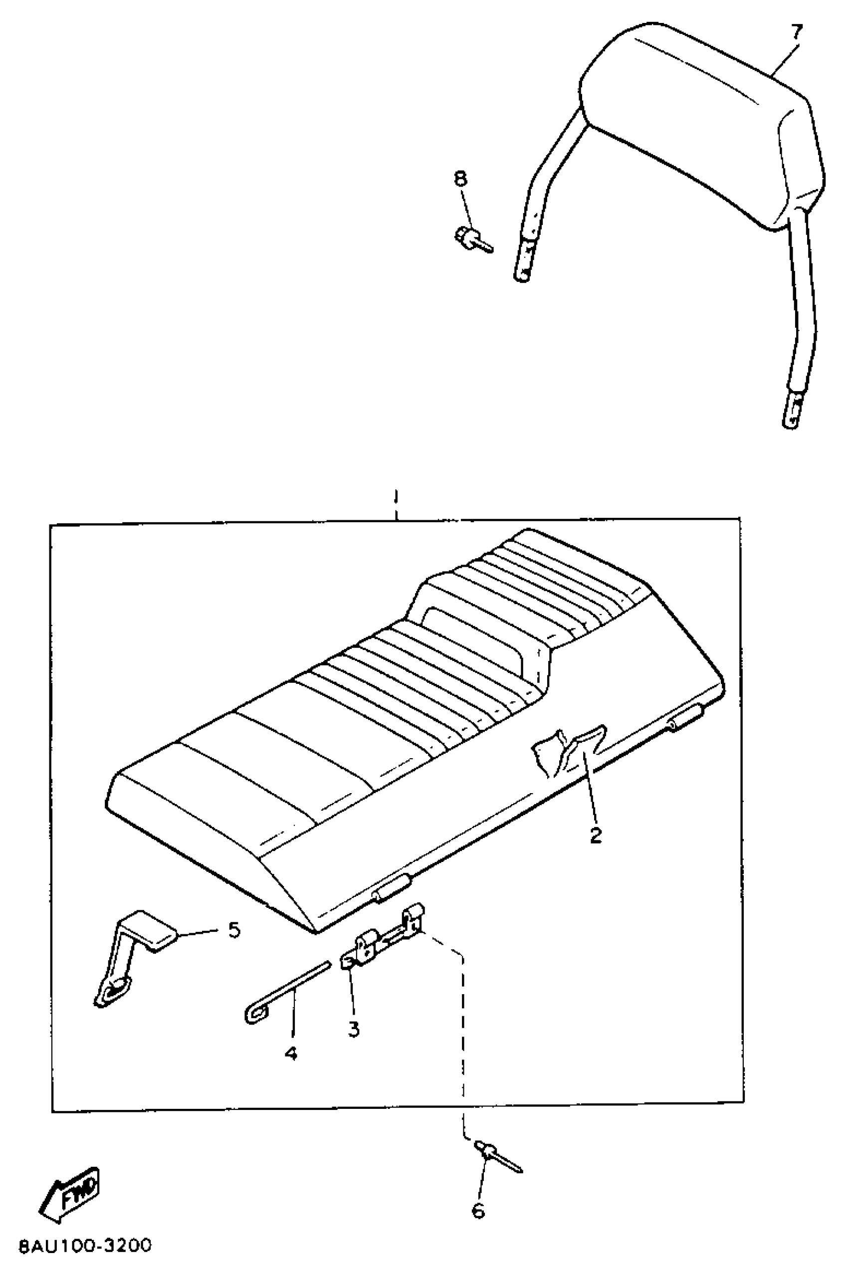
#

Description
Price

1

DOUBLE SEAT ASSEMBLY

86R-24730-00-00

Unavailable

2

. COVER, SEAT

84R-24731-00-00

Unavailable

3

SPACER 2

83R-24729-00-00

Unavailable

4

PIN

86V-77384-00-00

$19.99

5

BAND, SEAT FITTING

8AT-24778-01-00

$11.99

6

RIVET, BLIND

90267-48060-00

$8.49

7

SEAT BACK ASSEMBLY

83R-24790-00-00

Unavailable

8

BOLT

90109-06757-00

Unavailable