- Partiron
- OEM Parts
- Yamaha
- snowmobile
- 1991
- VK540ER (VK540) 1991
FUEL TANK
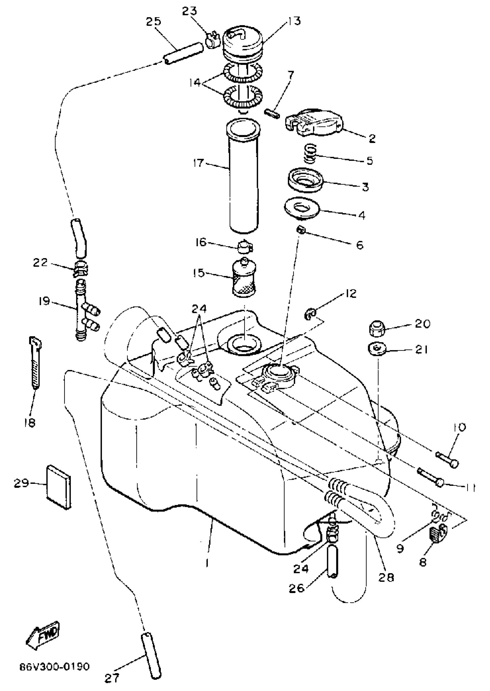
Yamaha VK540ER (VK540) 1991 FUEL TANK Diagram
#
Description
Price
2
BODY, CAP
8W6-24611-00-00
Unavailable
6
PIN, SPRING
91690-30016-00
Unavailable
9
SPRING, TORSION(81E)
90508-10715-00
Unavailable
10
PIN (8W6)
90249-03175-00
Unavailable
15
FILTER ASSY
8H5-24560-00-00
Unavailable
16
CLIP (7K7)
90467-11044-00
Unavailable
17
PIPE, SUCTUIN
813-24336-00-00
Unavailable
18
BAND
341-26397-01-00
Unavailable
19
PIPE, JOINT 1
82M-24376-00-00
Unavailable
20
NUT, NYLON
95717-08300-00
Unavailable
21
WASHER, PLATE (3L7)
90201-08784-00
Unavailable
22
CLIP (8J7)
90467-11009-00
Unavailable
23
CLIP (7K7)
90467-11044-00
Unavailable
24
CLIP (8A1)
90467-09026-00
Unavailable
25
TUBE, FLEXIBLE VINYL(86X)
91A20-07100-00
Unavailable
26
TUBE, FLEXIBLE VINYL(8AK)
91A20-05080-00
Unavailable
27
TUBE, FLEXIBLE VINYL(8AT)
91A20-05145-00
Unavailable
28
PROTECTOR, PIPE
81E-24328-00-00
Unavailable
29
SPACER
8V0-23858-00-00
Unavailable
