- Partiron
- OEM Parts
- Yamaha
- snowmobile
- 1989
- VK540EN (VK540) 1989
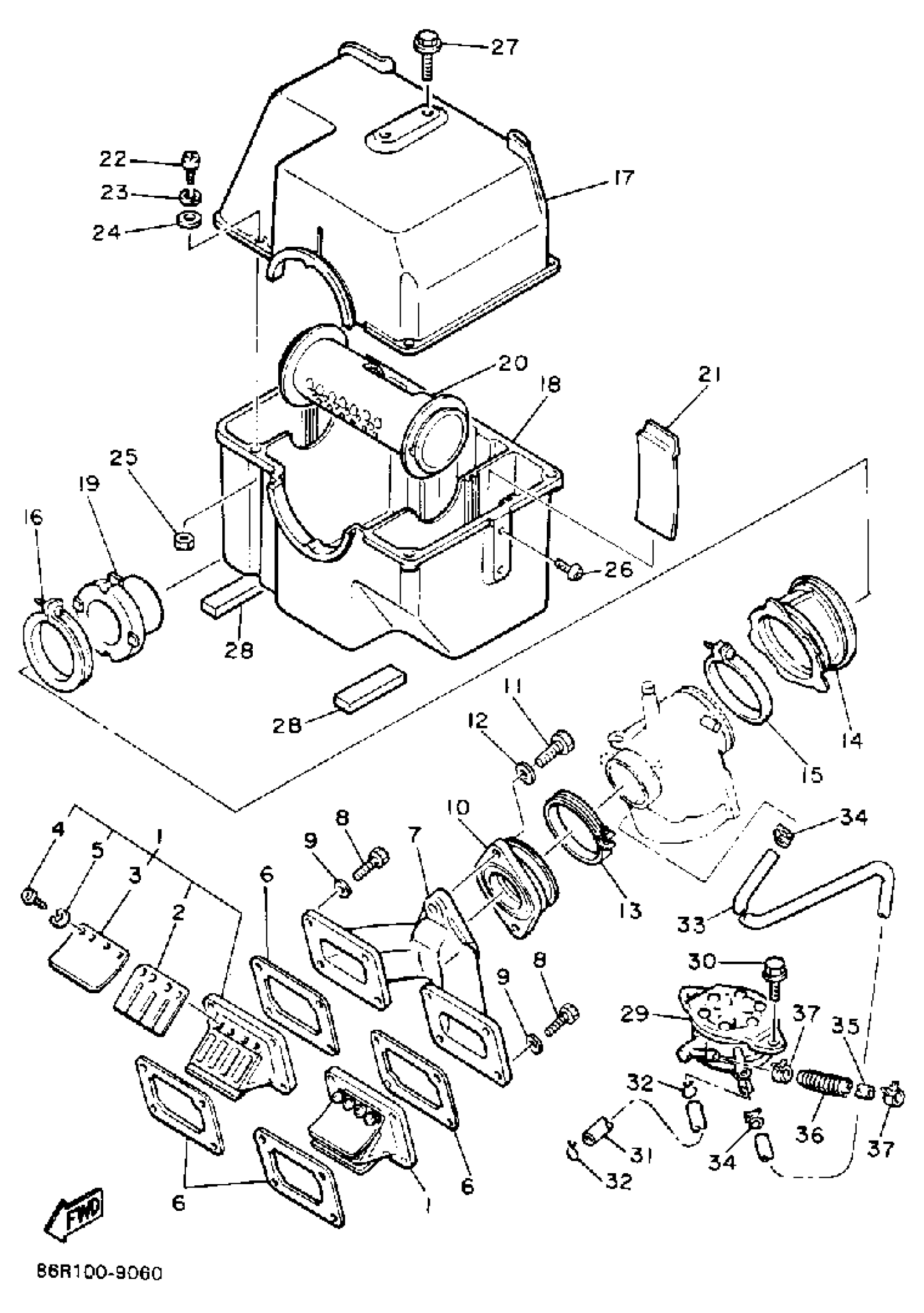
AIR CLEANER
Yamaha VK540EN (VK540) 1989 AIR CLEANER Diagram
#
Description
Price
7
JOINT, CARBURETOR
83R-13565-00-00
Unavailable
12
.. WASHER, PLATE
92990-08600-00
Unavailable
16
CLAMP,HOSE
90450-99056-00
Unavailable
17
SILENCER
8H8-14431-00-00
Unavailable
18
SILENCER
8H8-14441-00-00
Unavailable
19
PIPE
83R-14465-00-00
Unavailable
20
PIPE, BALANCE 2
8H8-14466-00-00
Unavailable
21
PLATE
8H8-14477-00-00
Unavailable
22
SCREW, PAN HEAD(6B0)
97885-05016-00
Unavailable
23
YBS67-5 WASHER, SPRING
92990-05100-00
Unavailable
24
WASHER, PLAIN (646)
92990-05600-00
Unavailable
25
NUT, HEXAGON SMALL
95317-05700-00
Unavailable
26
SCREW PAN HEAD
98580-06010-00
Unavailable
27
BOLT, FLANGE
95817-06012-00
Unavailable
28
DAMPER 1
83R-14425-00-00
Unavailable
29
FUEL PUMP ASSEMBLY
83R-24410-01-00
Unavailable
30
BOLT, FLANGE
95812-06010-00
Unavailable
31
HOSE (L400)
90445-116K9-00
Unavailable
32
CLIP
90467-090A2-00
Unavailable
33
TUBE, FLEXIBLE VINYL(8AU)
91A20-05039-00
Unavailable
34
CLIP (8A1)
90467-09026-00
Unavailable
35
TUBE, FLEXIBLE(3NV)
91A21-07020-00
Unavailable
36
PROTECTOR, PIPE
84M-24327-00-00
Unavailable
37
CLIP (7K7)
90467-11044-00
Unavailable
