- Partiron
- OEM Parts
- Yamaha
- snowmobile
- 2005
- VK540EK (VK540 III) 8ACF 2005
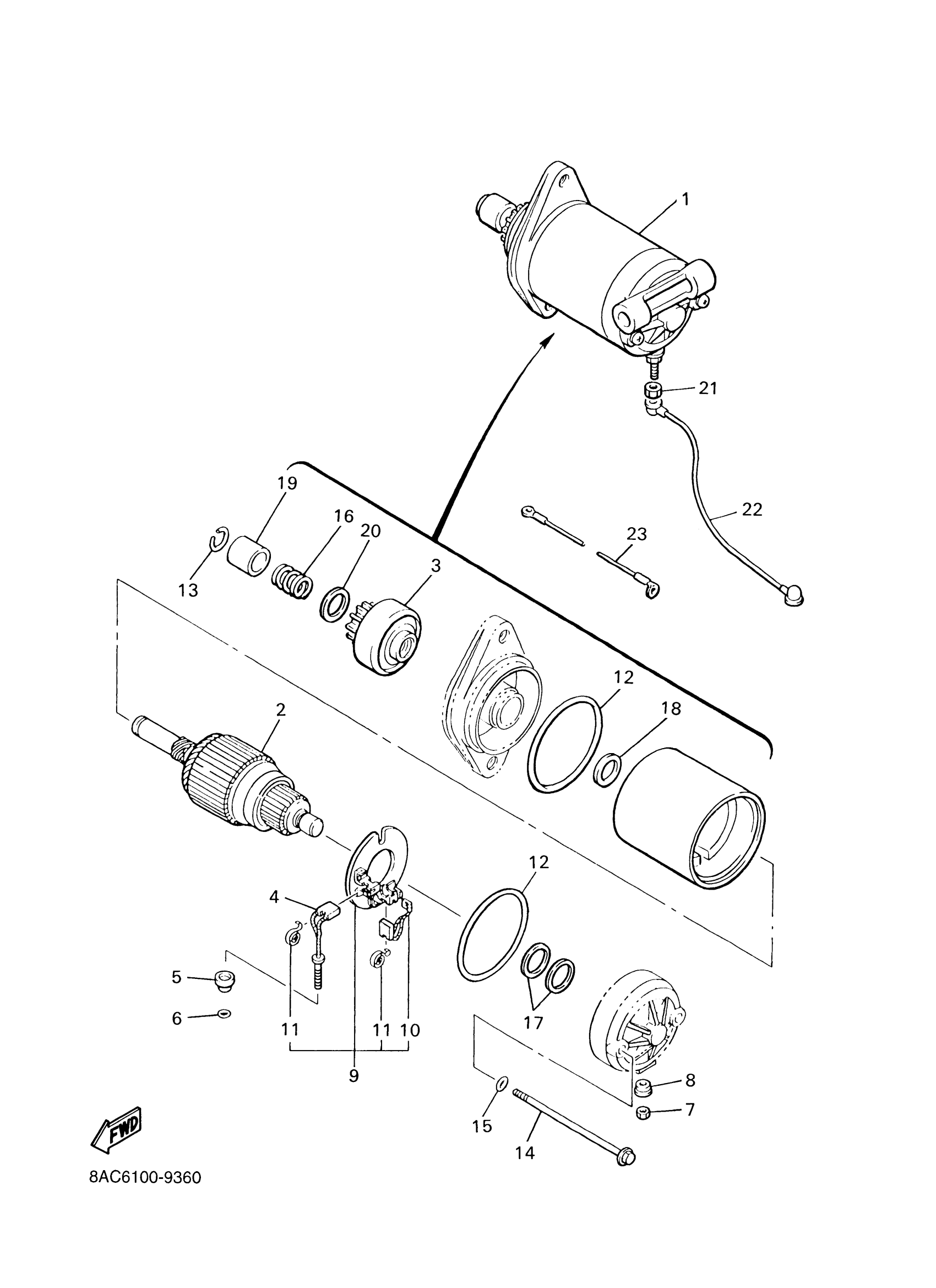
STARTING MOTOR
Yamaha VK540EK (VK540 III) 8ACF 2005 STARTING MOTOR Diagram
#
Description
Price
1
STARTING MOTOR ASSY
8BB-81800-02-00
Unavailable
2
ARMATURE ASSY
8Y3-81850-50-00
Unavailable
3
CLUTCH, OVER RUN
84N-81832-51-00
Unavailable
4
BRUSH 1
73A-81811-01-00
Unavailable
5
. GROMMET
73A-81829-50-00
Unavailable
6
. O-RING
73A-81847-00-00
Unavailable
7
NUT
4H7-81872-00-00
Unavailable
8
. GROMMET
73A-81829-00-00
Unavailable
11
SPRING, BRUSH
8L6-81813-50-00
Unavailable
12
O-RING
4H7-81844-00-00
Unavailable
16
SPRING, LEVER
8BB-81836-00-00
Unavailable
17
WASHER 1
4H7-81843-50-00
Unavailable
18
WASHER
8L6-81835-50-00
Unavailable
19
RING, STOP
8L6-81833-50-00
Unavailable
20
WASHER, PLATE
8BB-8185A-00-00
Unavailable
21
NUT(6TA)
95317-06600-00
Unavailable
22
WIRE, LEAD
83R-82117-02-00
Unavailable
23
WIRE MINUS LEAD
83R-82116-00-00
Unavailable
