Yamaha VK540EJ (VK540 III) 8ACD 2004 INTAKE Diagram
#
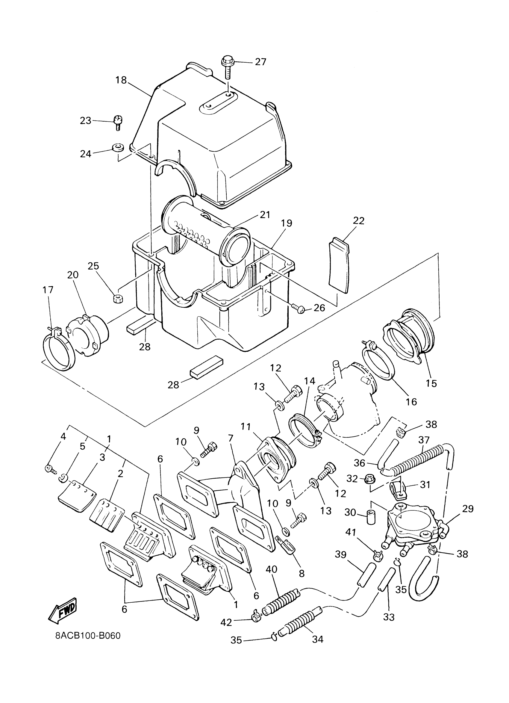
7
JOINT, CARBURETOR
83R-13565-00-00
Unavailable
8
CLAMP(51Y)
90465-08277-00
Unavailable
16
CLAMP, HOSE (29L)
90460-68230-00
Unavailable
17
HOSE CLAMP ASSY(3TU)
90450-99050-00
Unavailable
18
SILENCER
8H8-14431-00-00
Unavailable
19
SILENCER
8H8-14441-00-00
Unavailable
20
PIPE
83R-14465-00-00
Unavailable
21
PIPE, BALANCE 2
8H8-14466-00-00
Unavailable
22
PLATE
8H8-14477-00-00
Unavailable
23
SCREW, PAN HEAD(JJ6)
98507-05016-00
Unavailable
24
WASHER(1RW)
92907-05600-00
Unavailable
25
NUT, HEXAGON SMALL
95317-05700-00
Unavailable
26
SCREW, PAN
98507-06010-00
Unavailable
27
BOLT, FLANGE
95817-06012-00
Unavailable
28
DAMPER 1
83R-14425-00-00
Unavailable
29
FUEL PUMP ASSY
8AT-24410-00-00
Unavailable
30
COLLAR (8U7)
90387-105G5-00
Unavailable
31
CLAMP (706)
90465-06100-00
Unavailable
32
NUT, FLANGE(4MV)
95707-06500-00
Unavailable
33
HOSE (L400)
90445-116K9-00
Unavailable
34
SPRING, COMPRESSION (3LD4)
90501-084G9-00
Unavailable
35
CLIP (7K7)
90467-11044-00
Unavailable
36
HOSE (L420)
90445-092K1-00
Unavailable
37
SPRING, COMPRESSION(7MX)
90501-084J0-00
Unavailable
38
CLIP (8A1)
90467-09026-00
Unavailable
39
HOSE (L210)
90445-110F5-00
Unavailable
40
PROTECTOR, PIPE
84M-24327-00-00
Unavailable
41
CLIP (7K7)
90467-11044-00
Unavailable
42
CLIP (8J7)
90467-11009-00
Unavailable
