Partiron

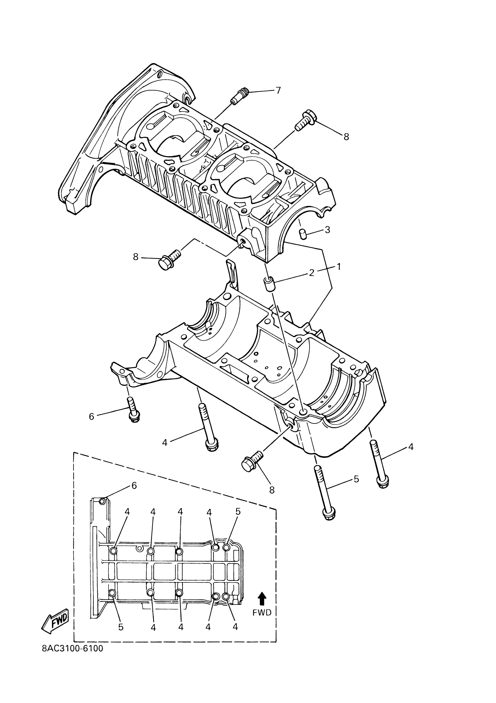
Yamaha VK540EH (VK 540 III) 8ACB 2003 CRANKCASE Diagram

#

Description
Price

1

CRANKCASE ASSY

8H8-15109-08-00

Unavailable

2

PIN, DOWEL

99530-12016-00

$4.89

3

PIN, DOWEL (8H1)

93604-07141-00

$2.17

4

BOLT, FLANGE

95817-08075-00

$4.82

5

BOLT, FLANGE(8BN)

95817-08085-00

$4.08

6

BOLT, FLANGE

95817-06030-00

$4.29

7

JOINT, BREATHER

J38-11116-00-00

$3.80

8

BOLT, FLANGE(JN5)

95817-08016-00

$5.49