- Partiron
- OEM Parts
- Yamaha
- snowmobile
- 2007
- VK10W (VK PROFESSIONAL) 8GS1 2007
SECONDARY SHEAVE
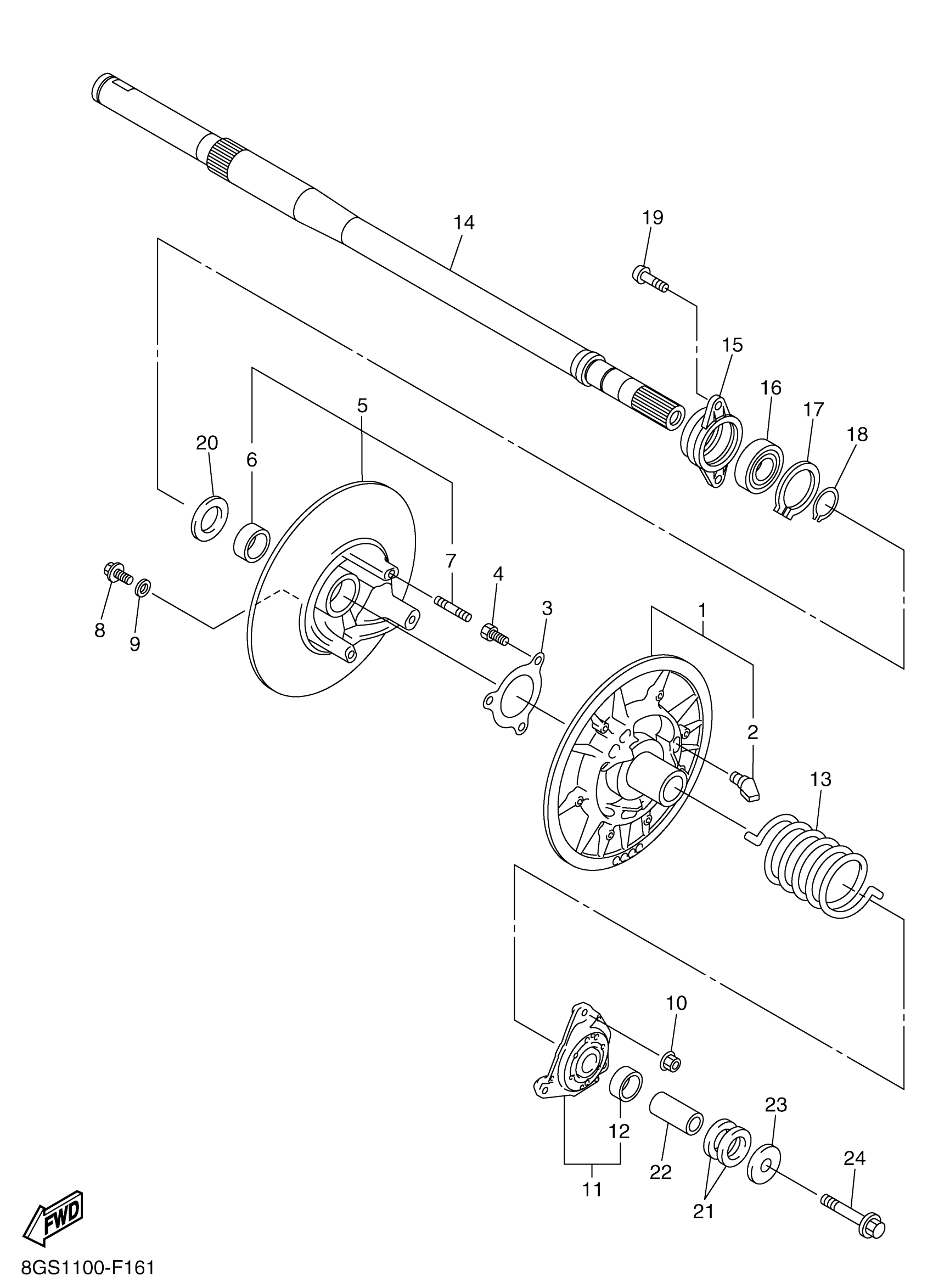
Yamaha VK10W (VK PROFESSIONAL) 8GS1 2007 SECONDARY SHEAVE Diagram
#
Description
Price
1
SECONDARY FIXED SHEAVE COMP.
8CR-17660-20-00
Unavailable
5
SECONDARY SLIDING SHEAVE
8BU-17670-20-00
Unavailable
11
SEAT SPRING SET
8FN-17604-90-00
Unavailable
14
SHAFT, SECONDARY
8GS-17681-03-00
Unavailable
15
HOUSING, BEARING
8FN-47631-00-00
Unavailable
16
BEARING
93306-30579-00
Unavailable
17
CIRCLIP(MF1)
99009-62500-00
Unavailable
18
CIRCLIP(JF7)
99009-25400-00
Unavailable
19
BOLT, BUTTON
92017-08025-00
Unavailable
20
WASHER, PLATE (888)
90201-25526-00
Unavailable
21
WASHER, PLATE (T=0.5)
90201-222F0-00
Unavailable
21
WASHER, PLATE (8L8)
90201-225A4-00
Unavailable
22
COLLAR
90387-14019-00
Unavailable
23
WASHER, PLATE
90201-14022-00
Unavailable
24
BOLT, WASHER BASED(8CJ)
90105-14766-00
Unavailable
