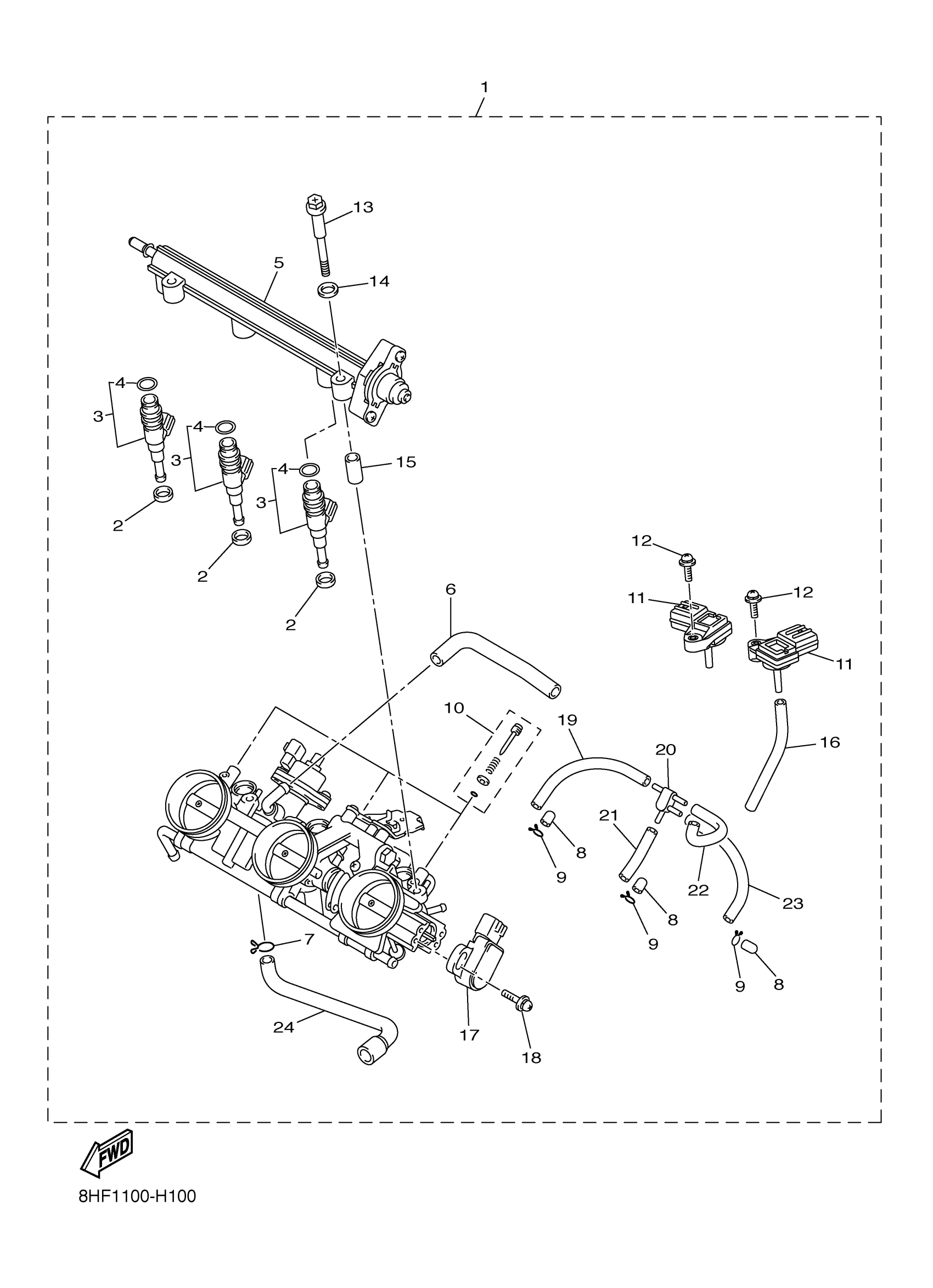
Yamaha VK10FHV (VK PROFESSIONAL II) 8KW40 2017 INTAKE 2 Diagram
#
Description
Price
1
THROTTLE BODY ASSY
8JA-13750-00-00
Unavailable
5
PIPE INLET ASSEMBLY
8HF-13930-00-00
Unavailable
6
HOSE, AIR
8GL-13895-00-00
Unavailable
10
ADJUST SCREW SET
8GL-14503-00-00
Unavailable
16
PIPE
5PW-14349-00-00
Unavailable
17
THROTTLE SENSOR AS
8GL-85885-01-00
Unavailable
18
SCREW
8CC-14216-10-00
Unavailable
19
HOSE
5JW-14987-00-00
Unavailable
20
CONNECTOR
5PW-1410F-00-00
Unavailable
21
PIPE
8FP-14349-30-00
Unavailable
22
HOSE, AIR 2
8HF-13892-00-00
Unavailable
23
HOSE, AIR 3
8GL-13893-00-00
Unavailable
24
HOSE 1
8HF-13545-00-00
Unavailable
