- Partiron
- OEM Parts
- Yamaha
- snowmobile
- 2011
- VK10AW (VK PRO) 8GSA0 2011
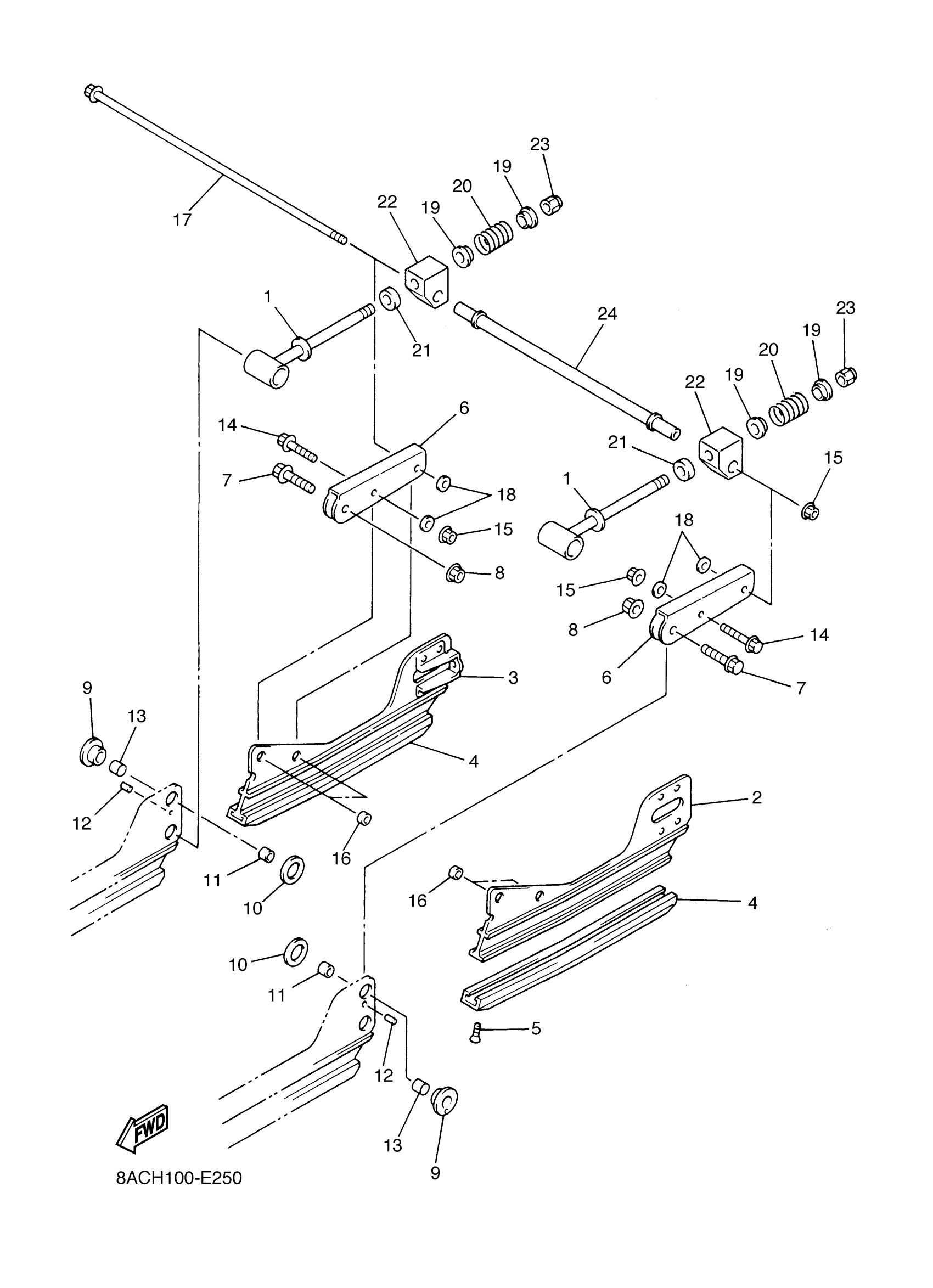
TRACK SUSPENSION 3
Yamaha VK10AW (VK PRO) 8GSA0 2011 TRACK SUSPENSION 3 Diagram
#
Description
Price
1
SHAFT, PIVOT
83R-47337-00-00
Unavailable
2
FRAME, SLIDING
8FM-W4741-10-00
Unavailable
3
FRAME, SLIDING
8FM-W4741-10-00
Unavailable
8
NUT, SELF-LOCKING (8U7)
90185-10115-00
Unavailable
12
PIN. SPRING(656)
91690-30008-00
Unavailable
13
BUSH, SOLID (22W)
90380-16109-00
Unavailable
16
COLLAR(3BN)
90387-082J1-00
Unavailable
17
BOLT, WASHER BASED(83R)
90105-08483-00
Unavailable
18
WASHER (1T1)
90201-08649-00
Unavailable
19
SEAT, SPRING 1
83R-23768-00-00
Unavailable
20
SPRING, COMPRESSION(83R)
90501-407E4-00
Unavailable
21
SPRING
83R-47335-00-00
Unavailable
22
HOOK 1
83R-47446-00-00
Unavailable
23
NUT, NYLON
95717-12300-00
Unavailable
24
COLLAR 2
8AC-47478-00-00
Unavailable
