- Partiron
- OEM Parts
- Polaris
- Watercraft
- PWC
- 2002
- VIRAGE I - W025101D
OIL TANK - W025101C/W025101D/W025101I (4971387138A12)
Polaris VIRAGE I - W025101D OIL TANK - W025101C/W025101D/W025101I (4971387138A12) Diagram
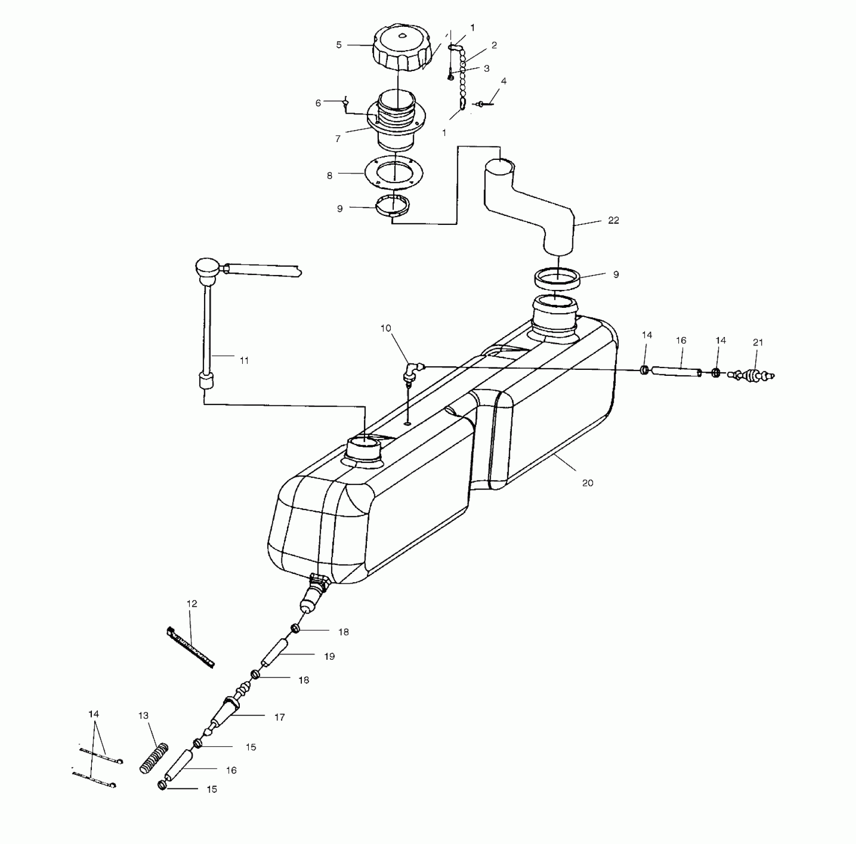
#
Description
Price
1
Coupling
7080442
Unavailable
1
Coupling
7080442
Unavailable
2
Chain
7080710
Unavailable
3
Screw
7517241
Unavailable
4
Rivet
7621229
Unavailable
5
Cap, Oil Tank
5432843
Unavailable
6
Rivet
7661042
Unavailable
7
Inlet, Oil
5433914
Unavailable
8
Gasket, Oil Inlet
5811554
Unavailable
9
CLAMP, HOSE
7080481
Unavailable
9
CLAMP, HOSE
7080481
Unavailable
10
Elbow, 90 Degree
7052130
Unavailable
11
Sender, Oil Level
2410131
Unavailable
13
Conduit
4010051-30
Unavailable
14
Cable Tie
7080483
Unavailable
14
Cable Tie
7080483
Unavailable
14
Cable Tie
7080483
Unavailable
16
Line, Fuel
8450003-1525
Unavailable
16
Line, Fuel
8450003-1525
Unavailable
17
Filter, Oil
2530015
Unavailable
19
Line, Fuel
8450059-150
Unavailable
20
Tank, Oil
5434542
Unavailable
21
Valve, Check, Vacuum
7052118
Unavailable
22
Hose, Oil Fill
5411756
Unavailable
