- Partiron
- OEM Parts
- Honda
- MOTORCYCLE
- 2015
- VFR800FAC (15) INTERCEPTOR, JPN, VIN# JH2RC791-FK100001 TO JH2RC791-FK199999
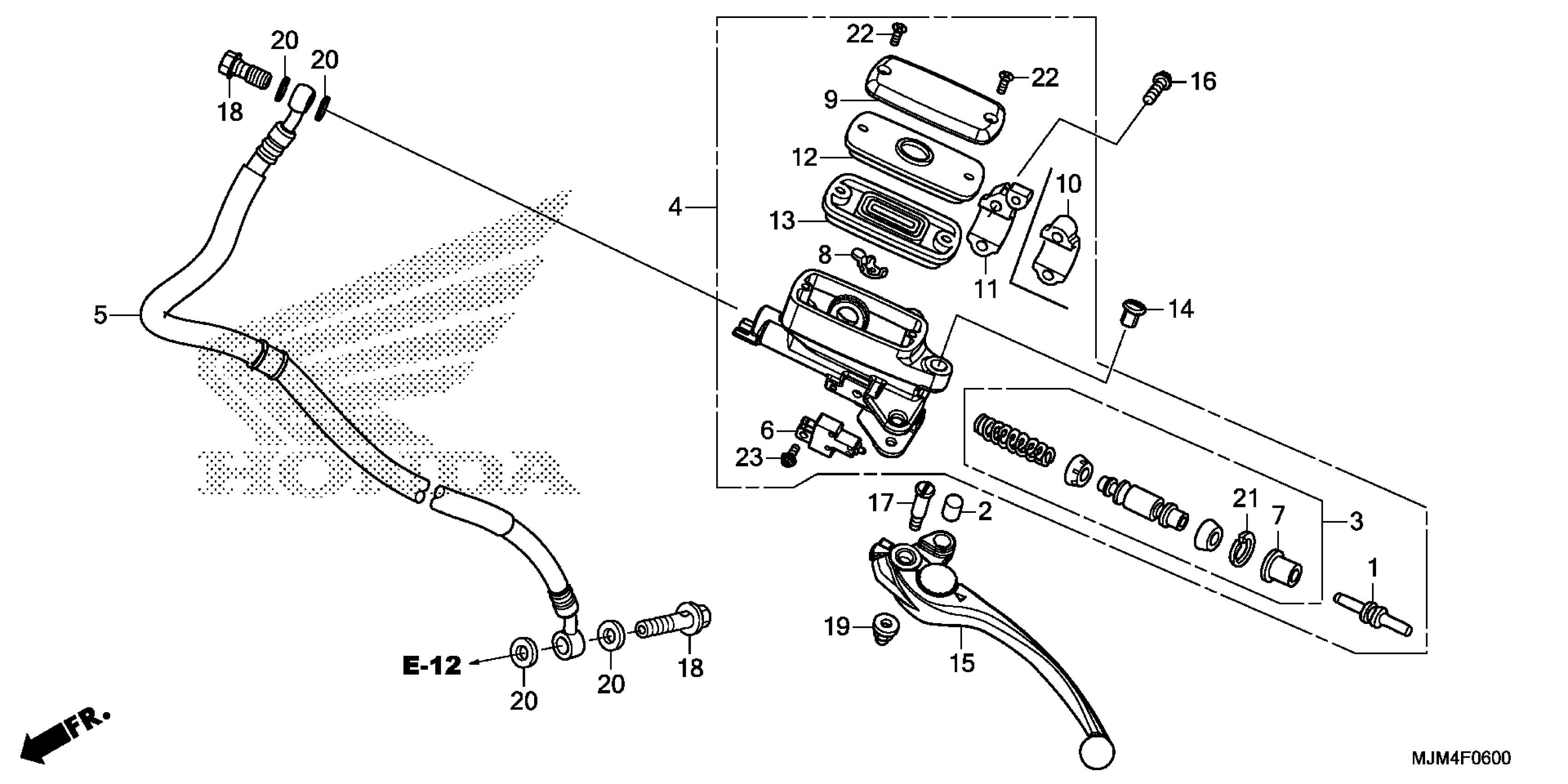
CLUTCH MASTER CYLINDER
Honda VFR800FAC (15) INTERCEPTOR, JPN, VIN# JH2RC791-FK100001 TO JH2RC791-FK199999 CLUTCH MASTER CYLINDER Diagram
#
Description
Price
4
MASTER CYLINDER SUB-ASSY., CLUTCH (NISSIN) This part replaces 22890-MGY-305.
22890-MGY-641
$390.93
