- Partiron
- OEM Parts
- Honda
- MOTORCYCLE
- 2002
- VFR800AAC (02) INTERCEPTOR ABS, JPN, VIN# JH2RC464-2M400001 TO JH2RC464-2M499999
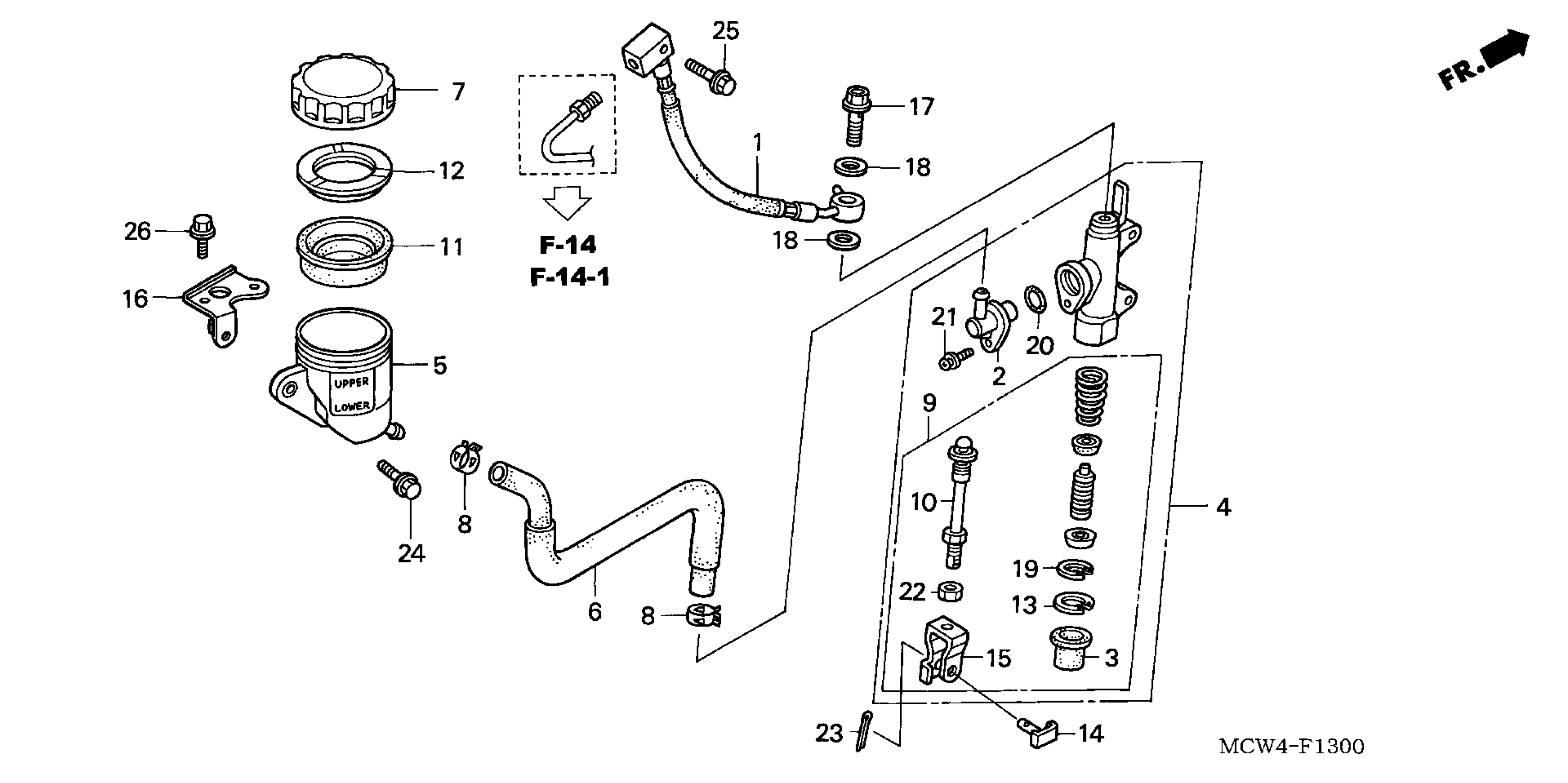
REAR BRAKE MASTER CYLINDER
Honda VFR800AAC (02) INTERCEPTOR ABS, JPN, VIN# JH2RC464-2M400001 TO JH2RC464-2M499999 REAR BRAKE MASTER CYLINDER Diagram
#
Description
Price
