Partiron

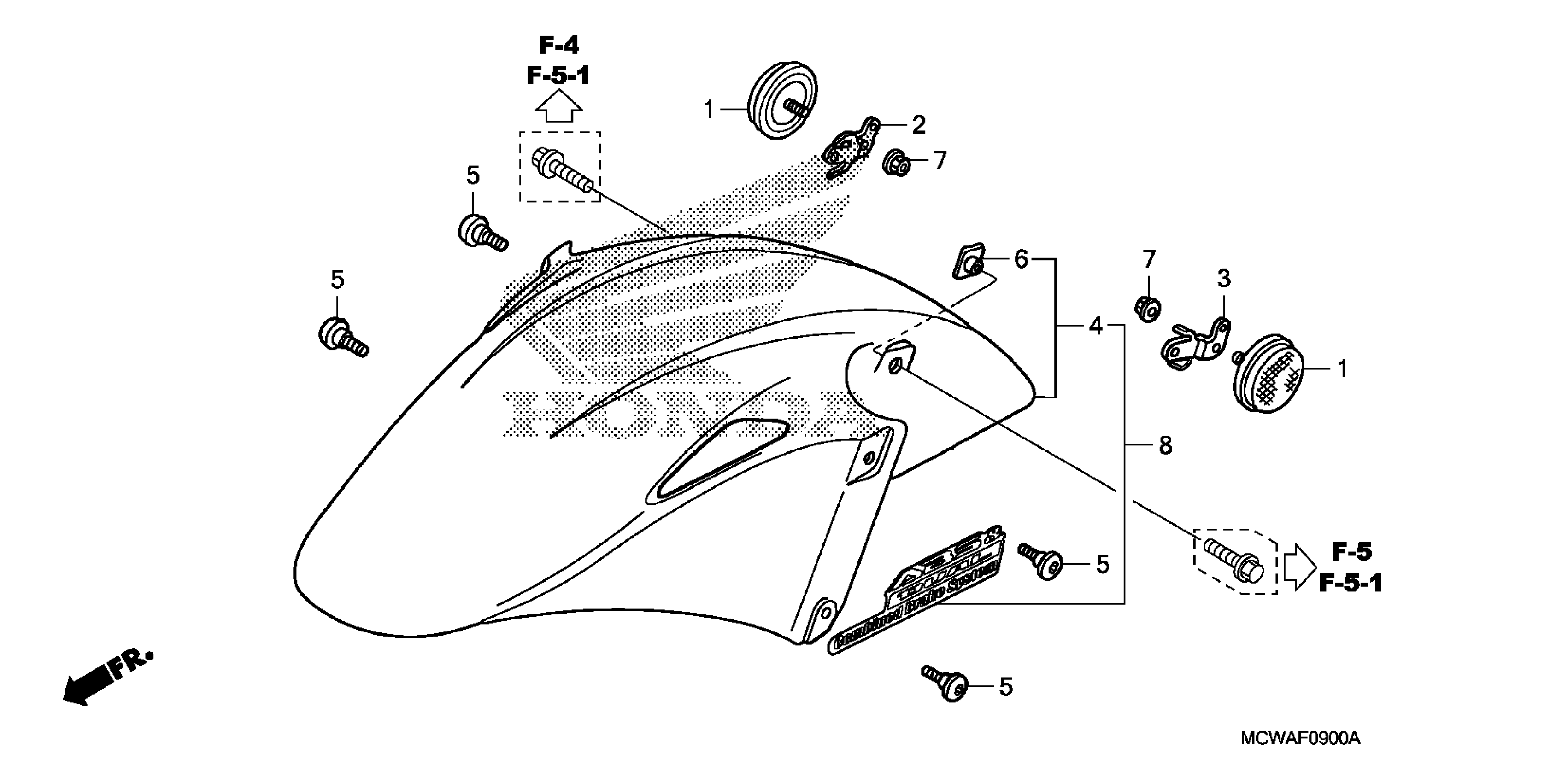
Honda VFR800A (09) INTERCEPTOR, JPN, VIN# JH2RC460-9K100001 FRONT FENDER Diagram

#

Description
Price

1

REFLECTOR, FR. REFLEX (AMBER)

33742-HB9-641

$13.14

2

STAY, R. FR. REFLECTOR

33742-MCW-U01

$7.61

3

STAY, L. FR. REFLECTOR

33743-MCW-U01

$7.67

4

FENDER, FR. *NHB01* (GRAPHITE BLACK)

61100-MCW-D00ZT

$228.34

5

SCREW, SPECIAL (6MM)

90106-KCZ-000

$4.87

6

NUT, SPECIAL (6MM)

90302-MB1-000

$6.08

7

NUT, FLANGE (6MM)

94050-06070

$1.49