- Partiron
- OEM Parts
- Honda
- MOTORCYCLE
- 1986
- VFR750FA (86) 750 INTERCEPTOR, JPN, VIN# JH2RC240-GM000008
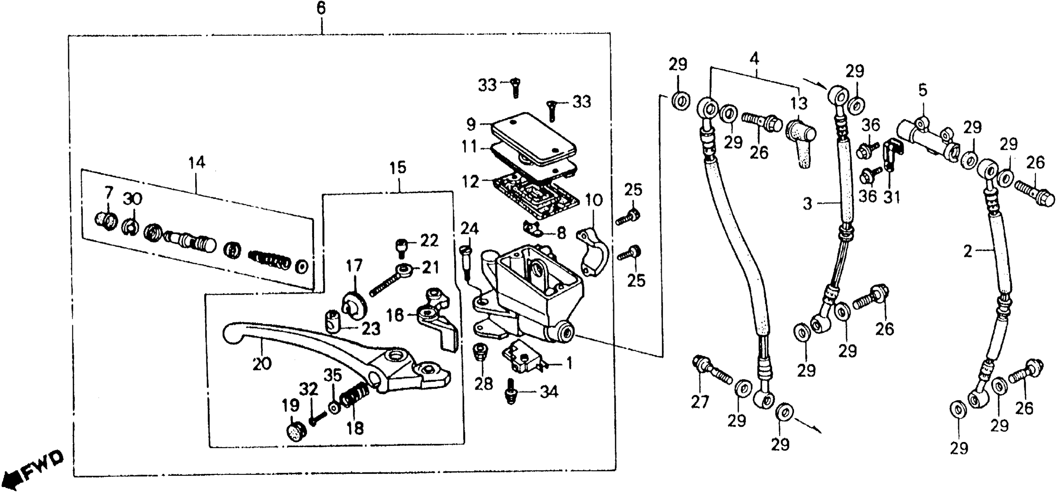
FR. BRAKE MASTER CYL.
Honda VFR750FA (86) 750 INTERCEPTOR, JPN, VIN# JH2RC240-GM000008 FR. BRAKE MASTER CYL. Diagram
#
Description
Price
2
HOSE, L. FR. BRAKE (NOT AVAILABLE)
45124-ML7-003
Unavailable
3
HOSE, R. FR. BRAKE
45125-ML7-003
Unavailable
4
HOSE B, FR. BRAKE
45126-ML7-003
Unavailable
5
JOINT (TWO-WAY) (NISSIN) (NOT AVAILABLE)
45127-MA1-003
Unavailable
6
SUB ASSY,FR,M/C This part replaces 45500-ML7-601.
45510-ML7-406
Unavailable
9
CAP
45513-ML7-601
Unavailable
15
LEVER, R. HANDLEBAR (NOT AVAILABLE)
53170-MJ4-701
Unavailable
17
ADJUSTER, R. CONTROL LEVER
53172-MJ4-006
Unavailable
18
SPRING, CONTROL LEVER
53173-MJ4-006
Unavailable
19
CAP, CONTROL LEVER
53174-MJ4-006
Unavailable
20
CONTROL LEVER, R. HANDLEBAR
53175-MJ4-701
Unavailable
21
BOLT, ADJUSTING
53176-MJ4-016
Unavailable
22
BOLT, CONTROL LEVER SOCKET (5X5) (NOT AVAILABLE)
53177-MJ4-006
Unavailable
23
JOINT, CONTROL LEVER
53179-MJ4-016
Unavailable
25
BOLT, SOCKET (6X23)
90117-MB0-000
Unavailable
27
BOLT, OIL (10X34)
90145-MB0-010
Unavailable
31
CLIP, WIRE
91406-KK4-620
Unavailable
