- Partiron
- OEM Parts
- Honda
- MOTORCYCLE
- 2017
- VFR1200XAC (17) VFR1200X, JPN, VIN# JH2SC760-HK100001
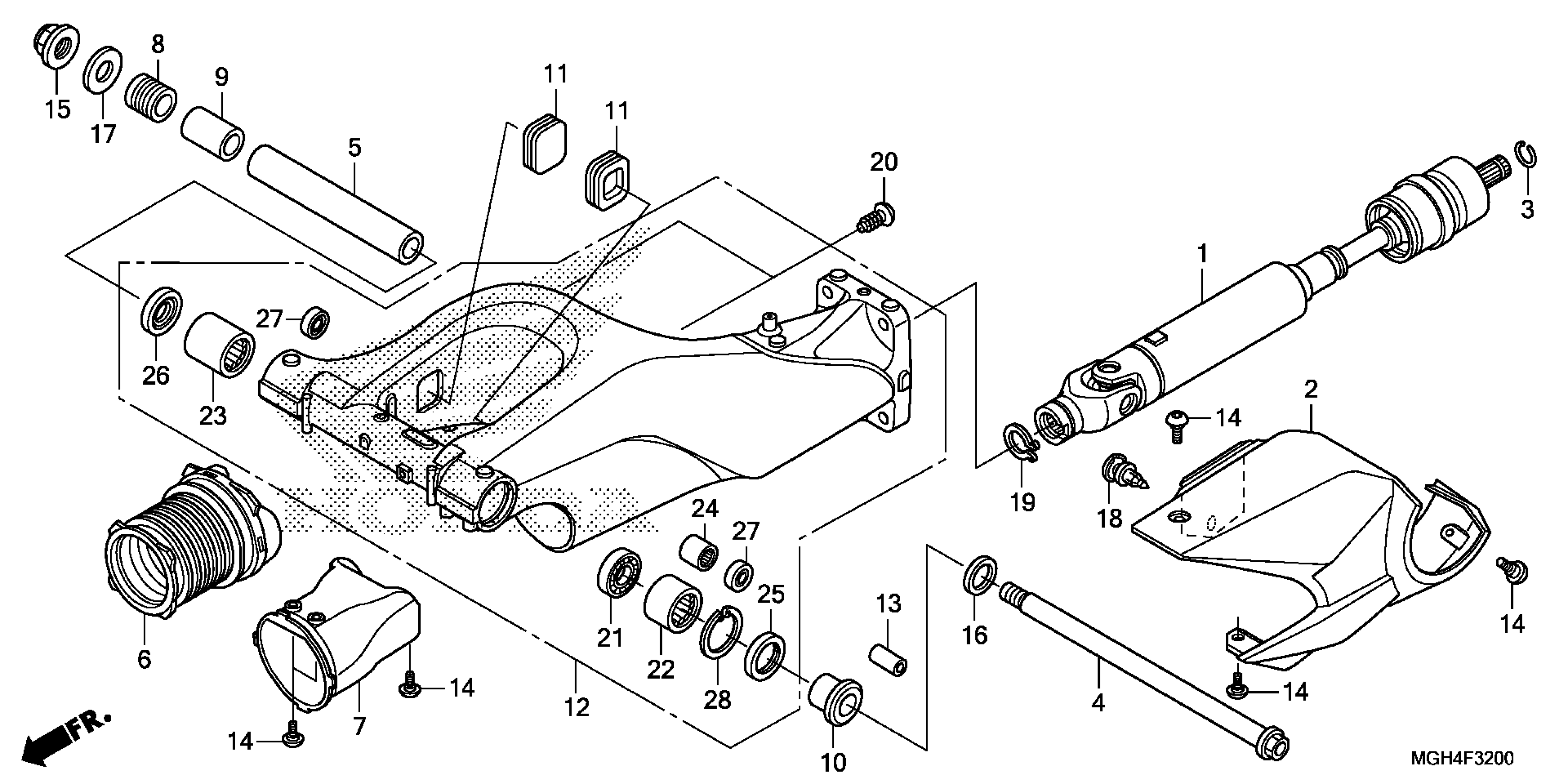
SWINGARM
Honda VFR1200XAC (17) VFR1200X, JPN, VIN# JH2SC760-HK100001 SWINGARM Diagram
#
Description
Price
SWINGARM
#
Edit ride
