- Partiron
- OEM Parts
- Honda
- MOTORCYCLE
- 1983
- VF750SA (83) V45 SABRE, JPN, VIN# JH2RC070-DM100006 TO JH2RC070-DM108632
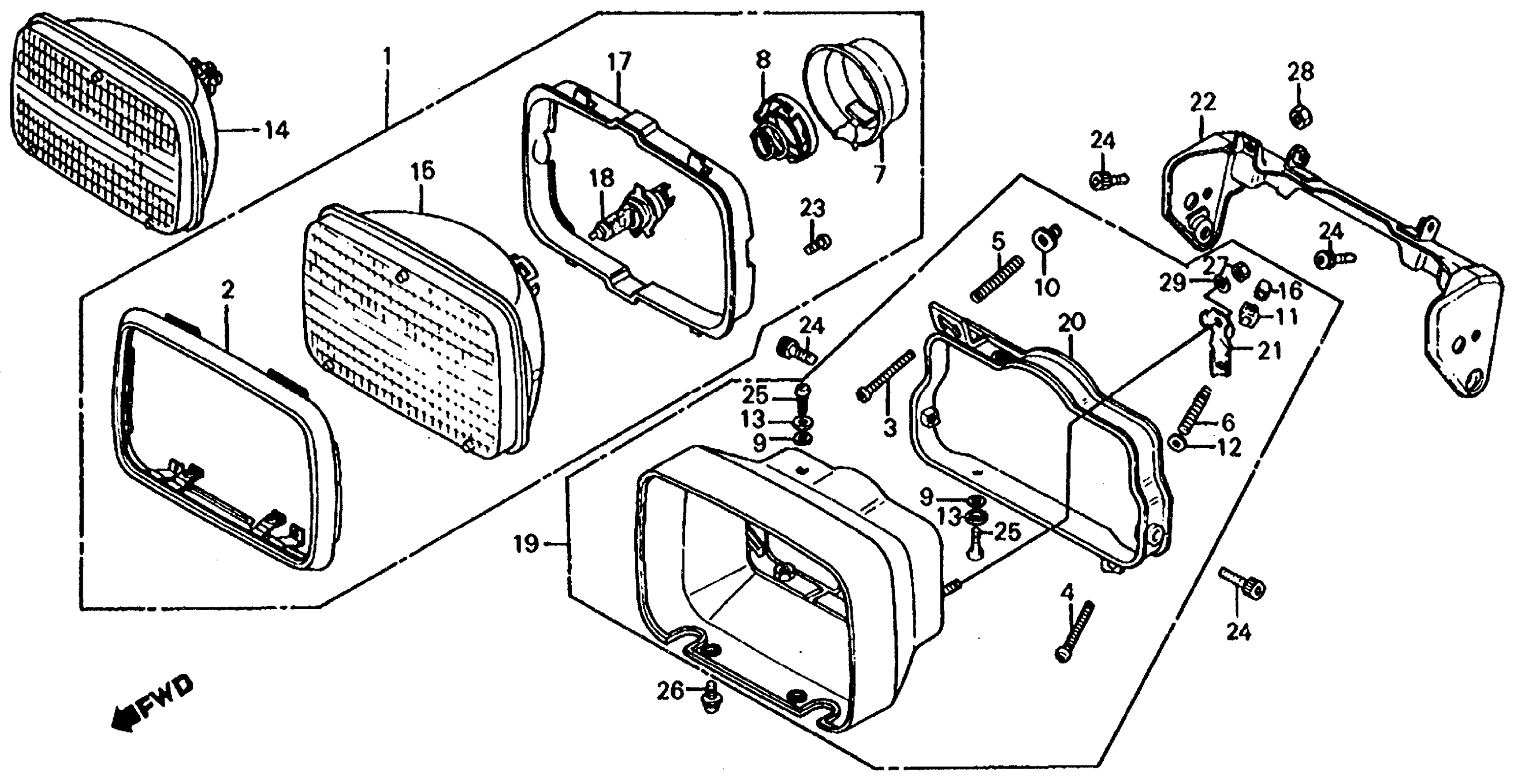
HEADLIGHT
Honda VF750SA (83) V45 SABRE, JPN, VIN# JH2RC070-DM100006 TO JH2RC070-DM108632 HEADLIGHT Diagram
#
Description
Price
1
HEADLIGHT ASSY. (12V 60/55W) (NOT AVAILABLE)
33100-MB0-771
Unavailable
2
RIM, HEADLIGHT
33101-MB0-701
Unavailable
3
SCREW, BEAM ADJUSTING
33103-MB0-003
Unavailable
4
SCREW, BEAM ADJUSTING
33104-MB0-003
Unavailable
5
SPRING, BEAM ADJUSTING This part replaces 33107-MB0-003.
33108-KM9-721
Unavailable
5
SPRING, BEAM ADJUSTING
33108-KM9-721
Unavailable
6
SPRING, BEAM ADJUSTING
33108-MB0-003
Unavailable
8
HOLDER, HEADLIGHT BULB
33114-MC5-003
Unavailable
9
RUBBER, GASKET (NOT AVAILABLE)
33115-MB0-003
Unavailable
10
NUT, BEAM ADJUSTING
33116-MB0-003
Unavailable
11
NUT, BEAM ADJ.
33117-MB0-003
Unavailable
12
WASHER, BEAM ADJUSTING
33118-MB0-003
Unavailable
13
WASHER (NOT AVAILABLE)
33119-MB0-003
Unavailable
15
HEADLIGHT UNIT
33120-MB0-771
Unavailable
15
HEADLIGHT UNIT This part replaces 33120-MG5-671.
33120-MB0-771
Unavailable
16
COVER, SCREW (4MM)
33136-MB0-000
Unavailable
17
RING, MOUNTING
33153-MB0-701
Unavailable
19
CASE ASSY., HEADLIGHT (NOT AVAILABLE)
61300-MB0-003
Unavailable
20
BRACKET, HEADLIGHT
61302-MB0-003
Unavailable
21
STAY, HEADLIGHT
61303-MB0-003
Unavailable
22
STAY, HEADLIGHT
61311-MB0-000
Unavailable
