- Partiron
- OEM Parts
- Honda
- MOTORCYCLE
- 1984
- VF750FA (84) 750 INTERCEPTOR, JPN, VIN# JH2RC150-EM100006 TO JH2RC150-EM103270
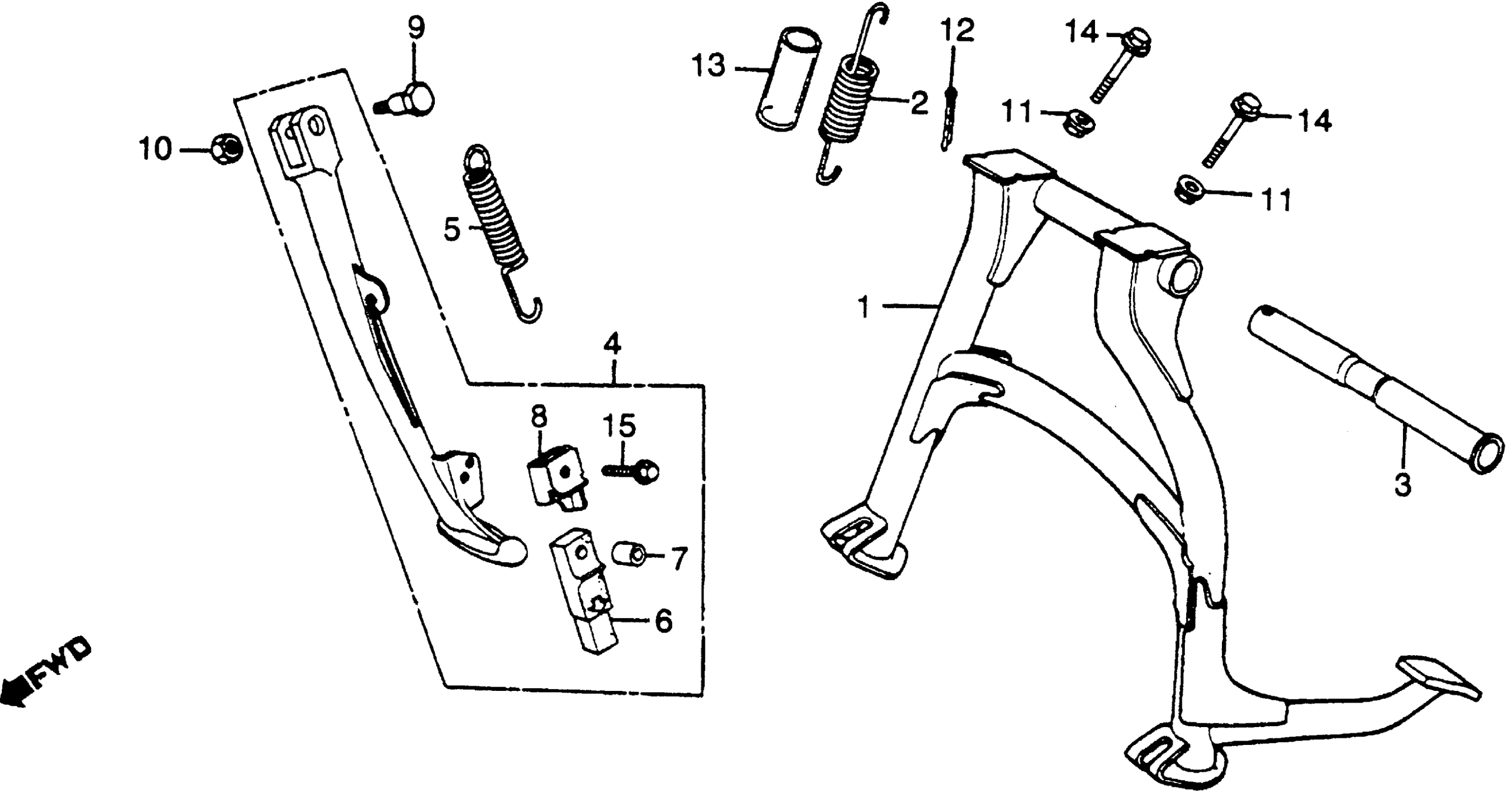
STAND
Honda VF750FA (84) 750 INTERCEPTOR, JPN, VIN# JH2RC150-EM100006 TO JH2RC150-EM103270 STAND Diagram
#
Description
Price
1
STAND, MAIN (NOT AVAILABLE)
50500-MB2-000
Unavailable
2
SPRING, MAIN STAND (NOT AVAILABLE)
50522-MB2-000
Unavailable
3
PIPE, MAIN STAND PIVOT
50526-MB2-000
Unavailable
4
BAR ASSY., SIDE STAND (NOT AVAILABLE)
50540-MB2-020
Unavailable
8
BRACKET, SIDE STAND RUBBER
50574-MB0-000
Unavailable
9
BOLT, SIDE STAND PIVOT
90108-MB0-000
Unavailable
13
BULK HOSE, VINYL (17.5X20.5X1000) (17.5X20.5X70)
95003-55001-10M
Unavailable
