- Partiron
- OEM Parts
- Honda
- MOTORCYCLE
- 1984
- VF750FA (84) 750 INTERCEPTOR, JPN, VIN# JH2RC150-EM100006 TO JH2RC150-EM103270
REAR SHOCK ABSORBER
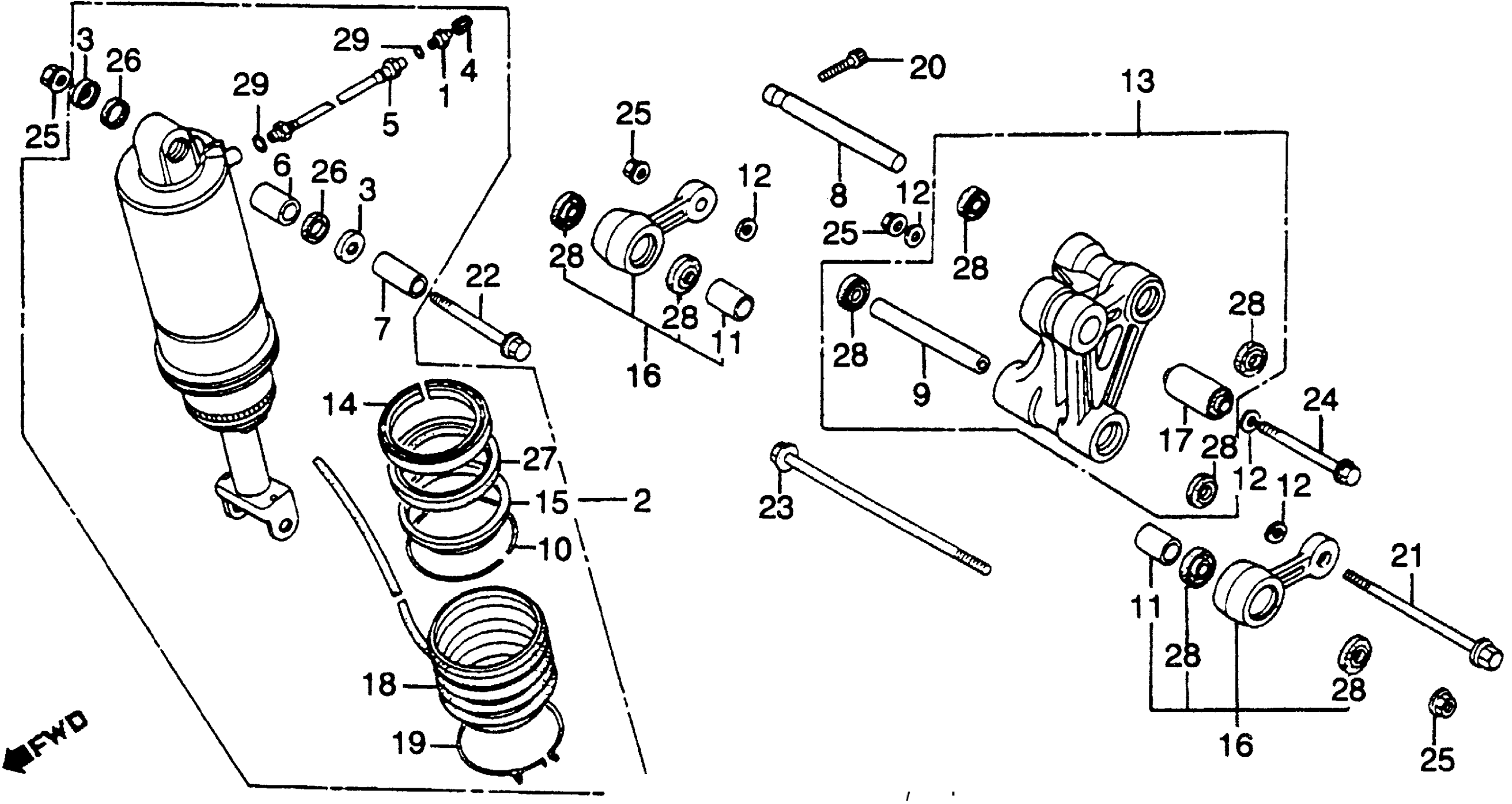
Honda VF750FA (84) 750 INTERCEPTOR, JPN, VIN# JH2RC150-EM100006 TO JH2RC150-EM103270 REAR SHOCK ABSORBER Diagram
#
Description
Price
2
CUSHION ASSY., RR.
52400-MB2-701
Unavailable
2
CUSHION ASSY., RR. This part replaces 52400-MB2-771.
52400-MB2-701
Unavailable
3
CAP (SHOWA) (NOT AVAILABLE)
52406-MA1-731
Unavailable
5
HOSE, RR. SHOCK ABSORBER
52432-MB2-701
Unavailable
6
METAL, BUSH (NOT AVAILABLE)
52452-MA1-731
Unavailable
7
COLLAR, BUSH (NOT AVAILABLE)
52453-MB2-003
Unavailable
8
SHAFT, CUSHION ARM (UPPER)
52462-MB2-700
Unavailable
9
COLLAR, CONNECTING ROD (LOWER)
52463-MB2-700
Unavailable
10
RING B, STOPPER
52463-MC7-013
Unavailable
11
COLLAR, CONNECTING ROD
52464-MB2-700
Unavailable
12
WASHER, THRUST
52466-MB2-000
Unavailable
13
ARM ASSY., SHOCK ABSORBER
52470-MB2-700
Unavailable
14
CASE, GUIDE
52472-MC7-003
Unavailable
15
RING, BACK-UP
52477-MC7-013
Unavailable
16
ROD ASSY., SHOCK CONNECTING
52480-MB2-700
Unavailable
17
BUSH, SHOCK ABSORBER (NOT AVAILABLE)
52485-MA2-003
Unavailable
18
BOOT, RR. SHOCK (NOT AVAILABLE)
52611-MB2-003
Unavailable
20
BOLT, SOCKET
90116-391-670
Unavailable
21
BOLT, FLANGE (10X123)
90181-MB2-000
Unavailable
23
BOLT, FLANGE (10X159)
90184-MB2-701
Unavailable
24
BOLT D, FLANGE (NOT AVAILABLE)
90189-MA2-003
Unavailable
26
DUST SEAL (SHOWA)
91254-MA1-731
Unavailable
27
OIL SEAL (65X80X10.5)
91257-MC7-003
Unavailable
