Partiron

Honda VF750CA (03) MAGNA, JPN, VIN# JH2RC430-3M900001 TAILLIGHT Diagram

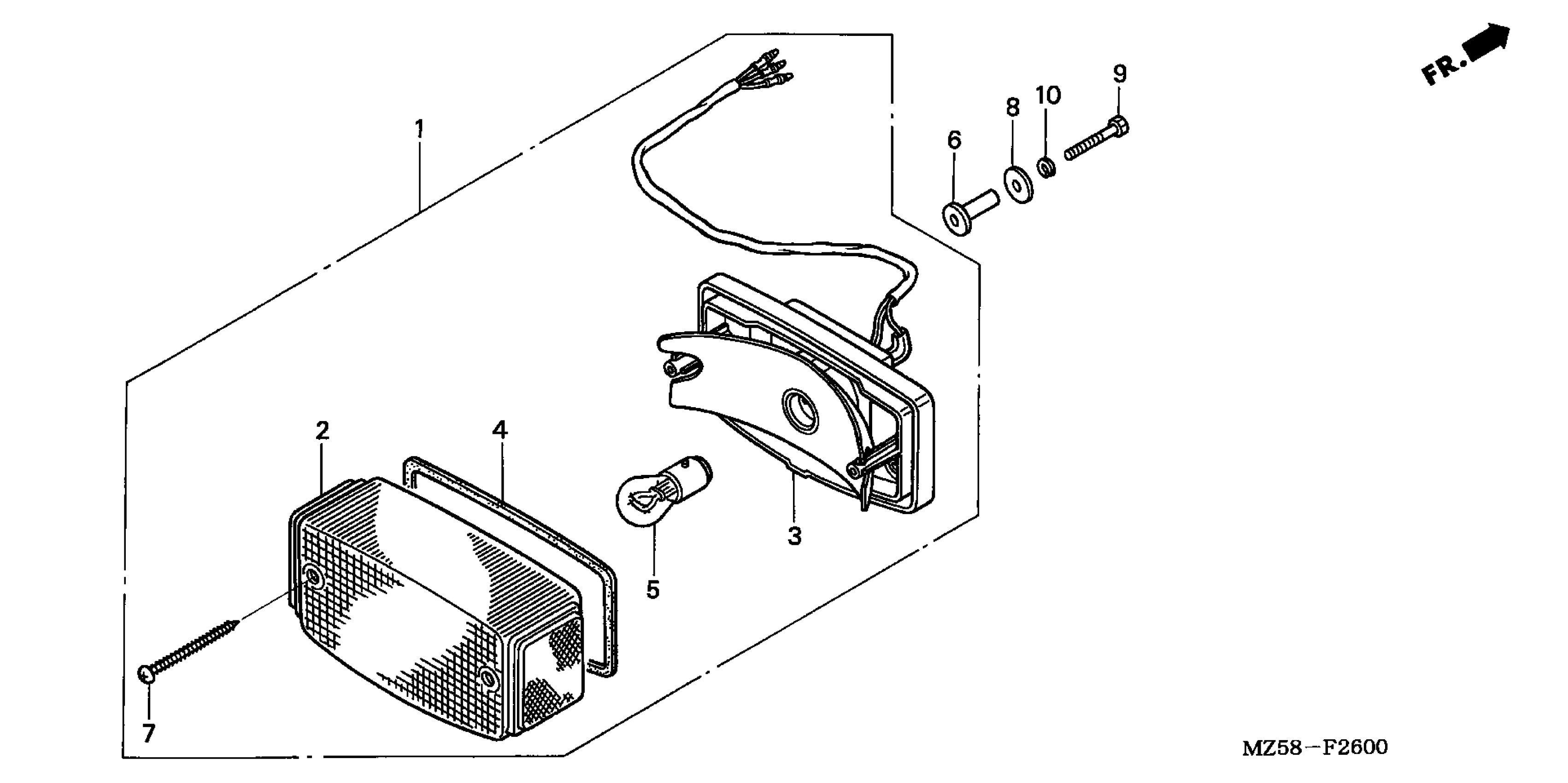
#

Description
Price

1

TAILLIGHT UNIT

33701-MZ5-671

Unavailable

2

LENS, TAILLIGHT (COO) (STANLEY) This part replaces 33702-MC4-671.

33702-MGR-305

$27.88

3

SOCKET, TAILLIGHT

33703-MZ5-671

Unavailable

4

GASKET, TAILLIGHT LENS

33709-KB7-003

$4.22

5

BULB, TAILLIGHT (12V 32/3CP) (STANLEY)

34906-425-771

$4.40

6

COLLAR, TAILLIGHT MOUNTING

80135-MZ5-000

$12.56

7

SCREW, TAPPING (4X40)

90105-GAM-000

$4.92

8

WASHER (5MM)

91409-VM0-770

$3.04

9

BOLT, HEX. (5X35)

92101-05035-0A

Unavailable

10

WASHER, SPRING (5MM)

94111-05000

$1.49