Partiron

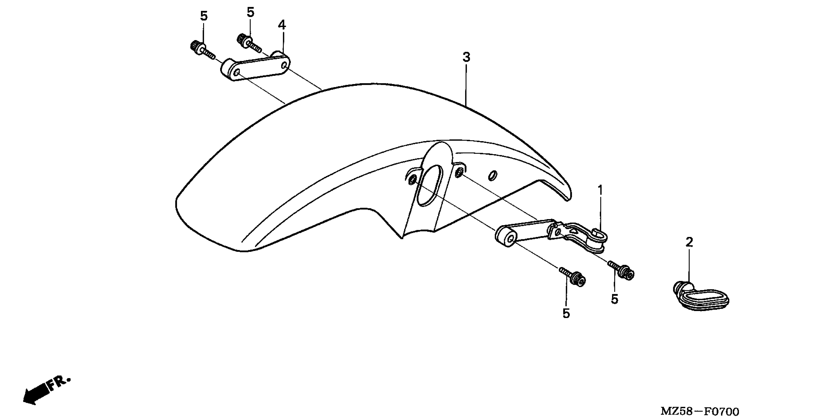
Honda VF750CA (03) MAGNA, JPN, VIN# JH2RC430-3M900001 FRONT FENDER Diagram

#

Description
Price

1

CLAMP B, BRAKE HOSE

45158-MZ5-000

Unavailable

2

GUIDE, FR. FENDER CABLE

45451-473-000

$6.55

3

FENDER, FR. *PB215C* (CANDY TAHITIAN BLUE)

61100-MZ5-000YD

Unavailable

4

PLATE, FR. FENDER

61103-MZ5-000

$16.49

5

BOLT, FLANGE SOCKET (6X25)

90080-MG8-000

$3.89