- Partiron
- OEM Parts
- Honda
- MOTORCYCLE
- 1985
- VF700SA (85) SABRE, JPN, VIN# JH2RC220-FM100001 TO JH2RC220-FM102800
FRONT BRAKE CALIPER
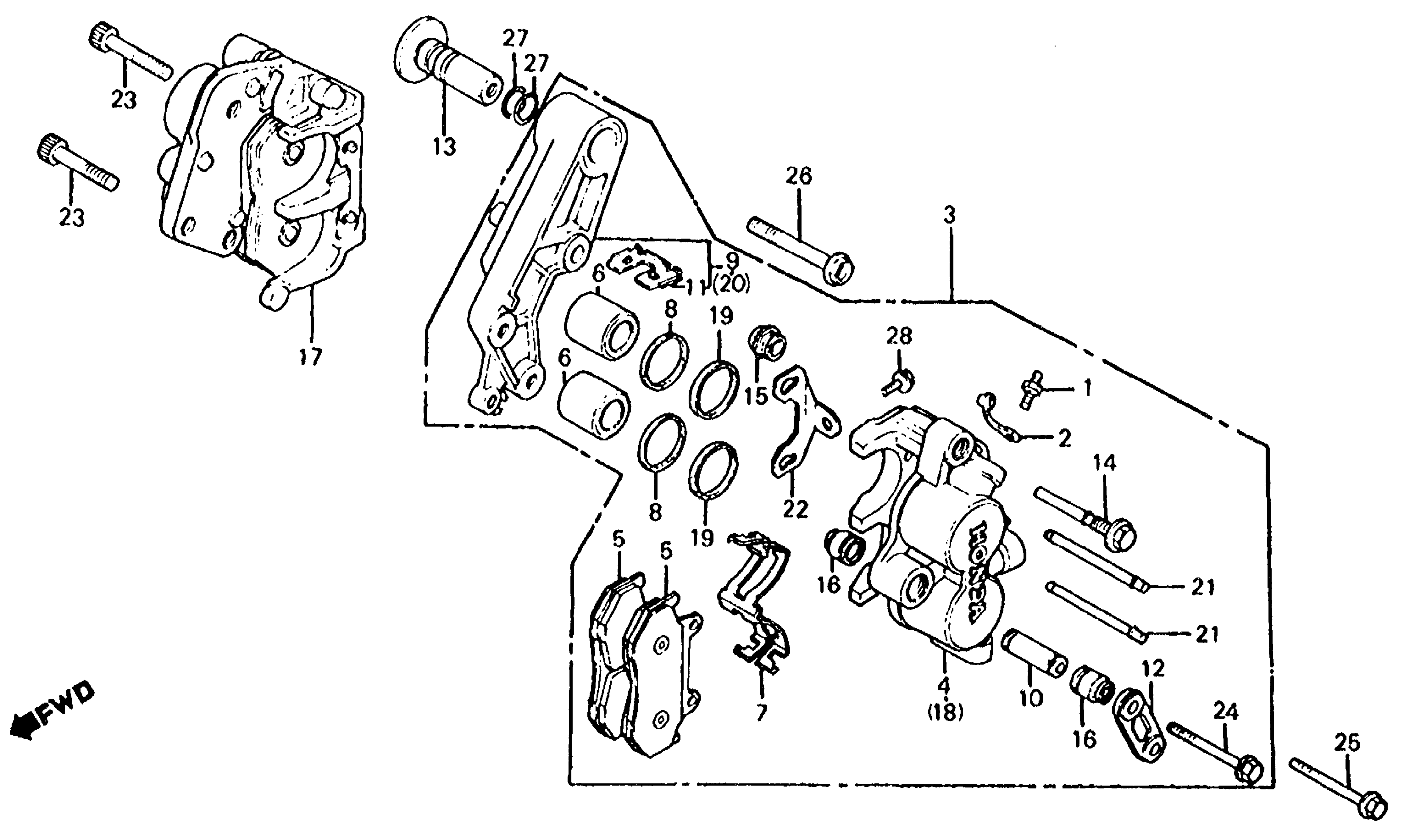
Honda VF700SA (85) SABRE, JPN, VIN# JH2RC220-FM100001 TO JH2RC220-FM102800 FRONT BRAKE CALIPER Diagram
#
Description
Price
NI
PAD SET, FR.
06455-MJ1-405
Unavailable
NI
PAD SET, FR. This part replaces 451A0-MJ1-670.
06455-MJ1-405
Unavailable
3
CALIPER ASSY., L. FR. (NISSHIN) This part replaces 45100-MB0-911.
45100-MB0-912
Unavailable
3
CALIPER ASSY., L. FR. (NISSHIN)
45100-MB0-912
Unavailable
4
CALIPER, L.
45101-MA3-006
Unavailable
5
PAD, FR. (ASK) (SEE KIT P/N--END OF BLOCK) (NOT AVAILABLE) This part replaces 45105-MB1-701.
45105-MJ1-673
Unavailable
5
PAD, FR. (ASK) (SEE KIT P/N--END OF BLOCK) (NOT AVAILABLE) This part replaces 45105-MB1-702.
45105-MJ1-673
Unavailable
5
PAD, FR. (ASK) (SEE KIT P/N--END OF BLOCK) (NOT AVAILABLE) This part replaces 45105-MJ1-672.
45105-MJ1-673
Unavailable
5
PAD, FR. (ASK) (SEE KIT P/N--END OF BLOCK) (NOT AVAILABLE)
45105-MJ1-673
Unavailable
9
BRACKET, L. FR. (NOT AVAILABLE)
45110-MB7-611
Unavailable
12
BRIDGE, CALIPER BRACKET (NOT AVAILABLE)
45113-MB7-610
Unavailable
13
SLEEVE, FR. CALIPER BRACKET
45114-MB7-610
Unavailable
17
CALIPER ASSY., R. FR. (NISSHIN) This part replaces 45200-MB0-911.
45200-MB0-914
Unavailable
17
CALIPER ASSY., R. FR. (NISSHIN) This part replaces 45200-MB0-912.
45200-MB0-914
Unavailable
17
CALIPER ASSY., R. FR. (NISSHIN)
45200-MB0-914
Unavailable
18
CALIPER, R. (NOT AVAILABLE)
45201-MA3-006
Unavailable
20
BRACKET, R. FR. (NOT AVAILABLE)
45210-445-632
Unavailable
22
PLATE
45217-MJ0-006
Unavailable
23
BOLT, SOCKET (10X40) (NOT AVAILABLE)
90164-460-840
Unavailable
26
BOLT, FLANGE (10X50)
90185-MC7-013
Unavailable
