- Partiron
- OEM Parts
- Honda
- MOTORCYCLE
- 1985
- VF700SA (85) SABRE, JPN, VIN# JH2RC220-FM100001 TO JH2RC220-FM102800
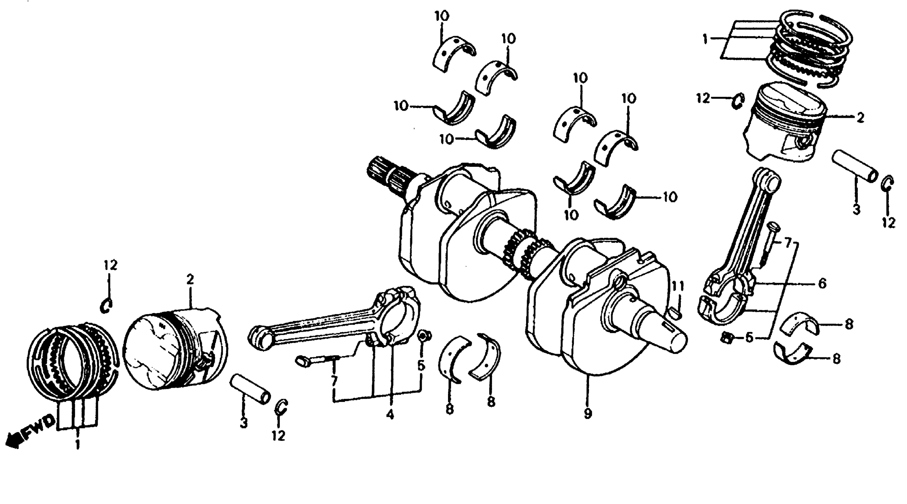
CRANKSHAFT + PISTON
Honda VF700SA (85) SABRE, JPN, VIN# JH2RC220-FM100001 TO JH2RC220-FM102800 CRANKSHAFT + PISTON Diagram
#
1
RING SET, PISTON (STD) (NIPPON) This part replaces 13011-MB0-771.
13011-MN0-305
Unavailable
1
RING SET, PISTON (STD) (NIPPON)
13011-MN0-305
Unavailable
2
PISTON (STD) This part replaces 13101-MB1-870.
13101-MN0-000
Unavailable
2
PISTON (STD)
13101-MN0-000
Unavailable
4
ROD ASSY. E, FR. CONNECTING This part replaces 13201-MB1-870.
13203-MB1-405
Unavailable
4
ROD ASSY. E, FR. CONNECTING This part replaces 13202-MB1-870.
13203-MB1-405
Unavailable
4
ROD ASSY. E, FR. CONNECTING
13203-MB1-405
Unavailable
4
ROD ASSY. E, FR. CONNECTING This part replaces 13203-MB1-870.
13203-MB1-405
Unavailable
4
ROD ASSY. E, FR. CONNECTING This part replaces 13204-MB1-870.
13203-MB1-405
Unavailable
4
ROD ASSY. E, FR. CONNECTING This part replaces 13205-MB1-870.
13203-MB1-405
Unavailable
6
CONNROD ASSY This part replaces 13206-MB1-870.
13208-MB1-405
Unavailable
6
CONNROD ASSY This part replaces 13207-MB1-870.
13208-MB1-405
Unavailable
6
CONNROD ASSY This part replaces 13208-MB1-870.
13208-MB1-405
Unavailable
6
ROD ASSY. D, RR. CONNECTING
13209-MB1-870
Unavailable
6
ROD ASSY. D, RR. CONNECTING This part replaces 13210-MB1-870.
13209-MB1-870
Unavailable
7
BOLT, CONNECTING ROD (TOKAI TRW)
13204-689-004
Unavailable
7
BOLT, CONNECTING ROD (TOKAI TRW) This part replaces 13213-422-004.
13204-689-004
Unavailable
8
BEARING A, CONNECTING ROD (BLUE) This part replaces 13224-MB0-003.
13224-MB0-892
Unavailable
8
BEARING A, CONNECTING ROD (BLUE) This part replaces 13224-MB0-305.
13224-MB0-892
Unavailable
8
BEARING A, CONNECTING ROD (BLUE) This part replaces 13224-MB0-891.
13224-MB0-892
Unavailable
8
BEARING A, CONNECTING ROD (BLUE)
13224-MB0-892
Unavailable
8
BEARING B, CONNECTING ROD (BLACK) This part replaces 13225-MB0-003.
13225-MB0-892
Unavailable
8
BEARING B, CONNECTING ROD (BLACK) This part replaces 13225-MB0-891.
13225-MB0-892
Unavailable
8
BEARING B, CONNECTING ROD (BLACK)
13225-MB0-892
Unavailable
8
BEARING C, CONNECTING ROD (BROWN) This part replaces 13226-MB0-003.
13226-MB0-892
Unavailable
8
BEARING C, CONNECTING ROD (BROWN) This part replaces 13226-MB0-891.
13226-MB0-892
Unavailable
8
BEARING C, CONNECTING ROD (BROWN)
13226-MB0-892
Unavailable
8
BEARING D, CONNECTING ROD (GREEN) This part replaces 13227-MB0-003.
13227-MB0-892
Unavailable
8
BEARING D, CONNECTING ROD (GREEN) This part replaces 13227-MB0-891.
13227-MB0-892
Unavailable
8
BEARING D, CONNECTING ROD (GREEN)
13227-MB0-892
Unavailable
8
BEARING E, CONNECTING ROD (YELLOW) This part replaces 13228-MB0-003.
13228-MB0-892
Unavailable
8
BEARING E, CONNECTING ROD (YELLOW) This part replaces 13228-MB0-891.
13228-MB0-892
Unavailable
8
BEARING E, CONNECTING ROD (YELLOW)
13228-MB0-892
Unavailable
9
CRANKSHAFT This part replaces 13300-MB1-870.
13300-MB1-871
Unavailable
9
CRANKSHAFT
13300-MB1-871
Unavailable
10
BEARING A, CRANKSHAFT (BLUE) This part replaces 13314-MB0-003.
13314-MB0-013
Unavailable
10
BEARING A, CRANKSHAFT (BLUE)
13314-MB0-013
Unavailable
10
BEARING B, CRANKSHAFT (BLACK) This part replaces 13315-MB0-003.
13315-MB0-013
Unavailable
10
BEARING B, CRANKSHAFT (BLACK)
13315-MB0-013
Unavailable
10
BEARING C, CRANKSHAFT (BROWN) This part replaces 13316-MB0-003.
13316-MB0-013
Unavailable
10
BEARING C, CRANKSHAFT (BROWN)
13316-MB0-013
Unavailable
10
BEARING E, CRANKSHAFT (YELLOW) This part replaces 13318-MB0-003.
13318-MB0-013
Unavailable
10
BEARING E, CRANKSHAFT (YELLOW)
13318-MB0-013
Unavailable
