- Partiron
- OEM Parts
- Honda
- MOTORCYCLE
- 1985
- VF700FA (85) INTERCEPTOR, JPN, VIN# JH2RC230-FM100003 TO JH2RC230-FM104561
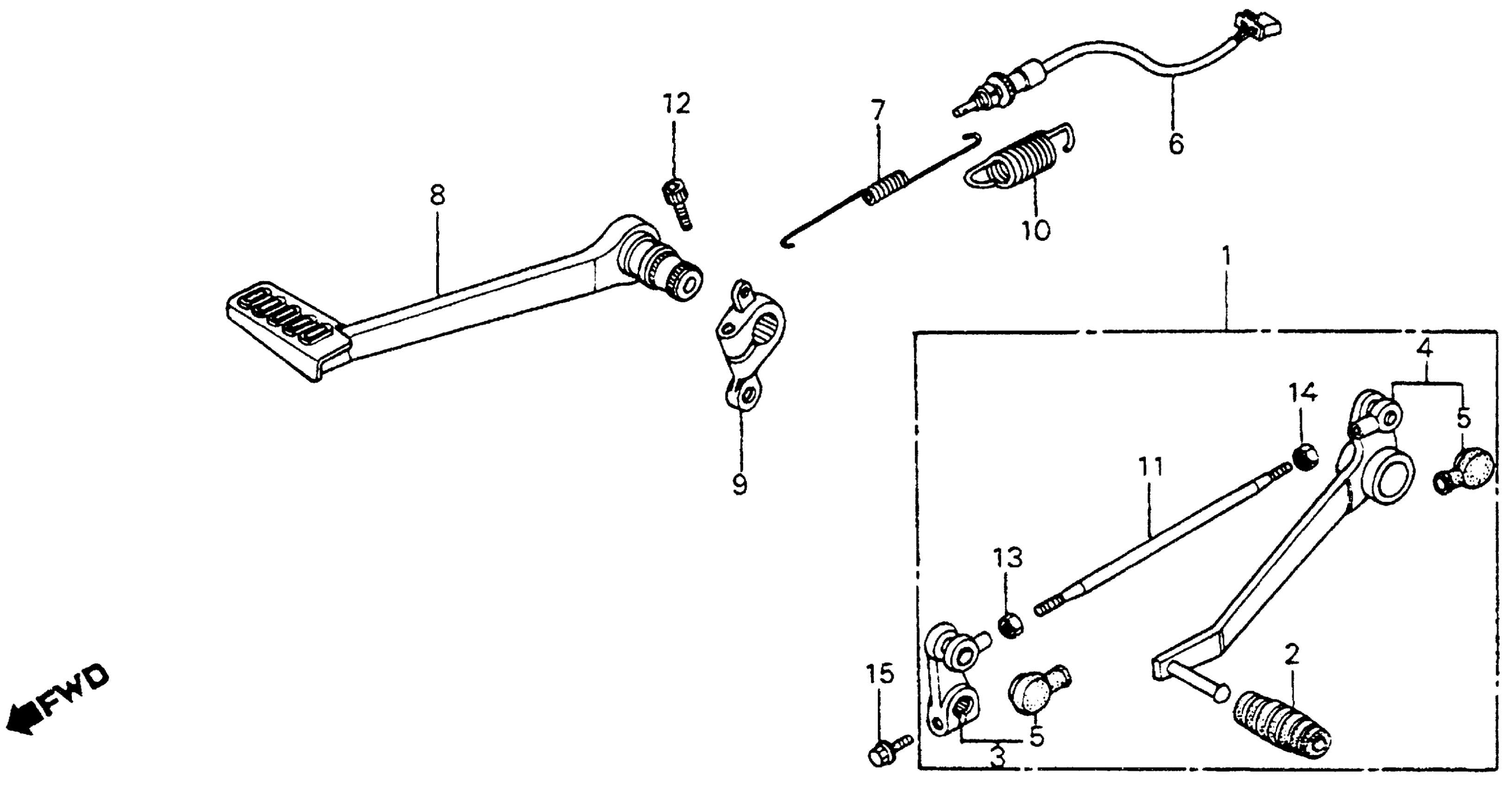
BRAKE PEDAL + SHIFT PEDAL
Honda VF700FA (85) INTERCEPTOR, JPN, VIN# JH2RC230-FM100003 TO JH2RC230-FM104561 BRAKE PEDAL + SHIFT PEDAL Diagram
#
Description
Price
1
PEDAL ASSY., GEARSHIFT
24700-MB2-000
Unavailable
3
ARM, GEARSHIFT (NOT AVAILABLE)
24710-MB2-000
Unavailable
4
PEDAL, GEARSHIFT
24720-MB2-000
Unavailable
6
SWITCH ASSY., RR. STOP
35350-KM4-405
Unavailable
6
SWITCH ASSY., RR. STOP This part replaces 35350-MB2-000.
35350-KM4-405
Unavailable
7
SPRING, STOP SWITCH (NOT AVAILABLE)
35357-MB2-000
Unavailable
8
PEDAL, RR. BRAKE (NOT AVAILABLE)
46500-MB2-010
Unavailable
9
ARM, RR. BRAKE MIDDLE
46502-MB2-000
Unavailable
10
SPRING, BRAKE PEDAL
46514-MB2-000
Unavailable
11
BOLT, TIE ROD (NOT AVAILABLE)
90065-MB2-000
Unavailable
12
BOLT, SOCKET (8MM)
90116-125-782
Unavailable
