- Partiron
- OEM Parts
- Honda
- MOTORCYCLE
- 1986
- VF700CA (86) MAGNA, JPN, VIN# JH2RC210-GM200003 TO JH2RC210-GM208928
HEADLIGHT
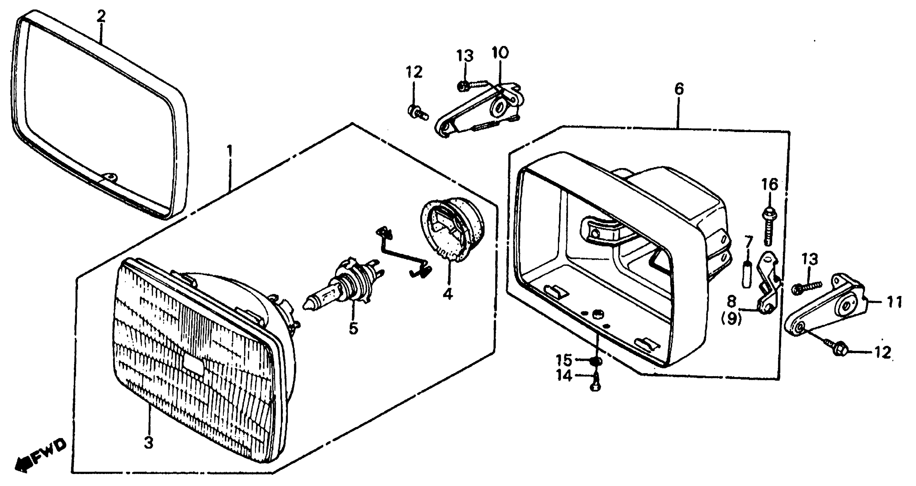
Honda VF700CA (86) MAGNA, JPN, VIN# JH2RC210-GM200003 TO JH2RC210-GM208928 HEADLIGHT Diagram
#
Description
Price
1
HEADLIGHT ASSY. (12V 60/55W)
33100-MB4-671
Unavailable
2
RING, HEADLIGHT
33105-MB4-671
Unavailable
3
HEADLIGHT UNIT
33120-ME5-670
Unavailable
4
COVER, RUBBER
33180-422-003
Unavailable
6
CASE, HEADLIGHT This part replaces 61301-MB4-003.
61301-MF5-000
Unavailable
6
CASE, HEADLIGHT
61301-MF5-000
Unavailable
7
COLLAR, HEADLIGHT CASE
61302-MB4-003
Unavailable
8
BRACKET, L.
61303-MB4-003
Unavailable
9
BRACKET, R. (NOT AVAILABLE)
61304-MB4-003
Unavailable
11
STAY, L. HEADLIGHT
61313-MK3-000
Unavailable
13
BOLT, SOCKET
90109-MB0-000
Unavailable
13
BOLT, SOCKET This part replaces 90157-MB1-000.
90109-MB0-000
Unavailable
