- Partiron
- OEM Parts
- Honda
- MOTORCYCLE
- 1986
- VF700CA (86) MAGNA, JPN, VIN# JH2RC210-GM200003 TO JH2RC210-GM208928
FRONT BRAKE CALIPER 85-86
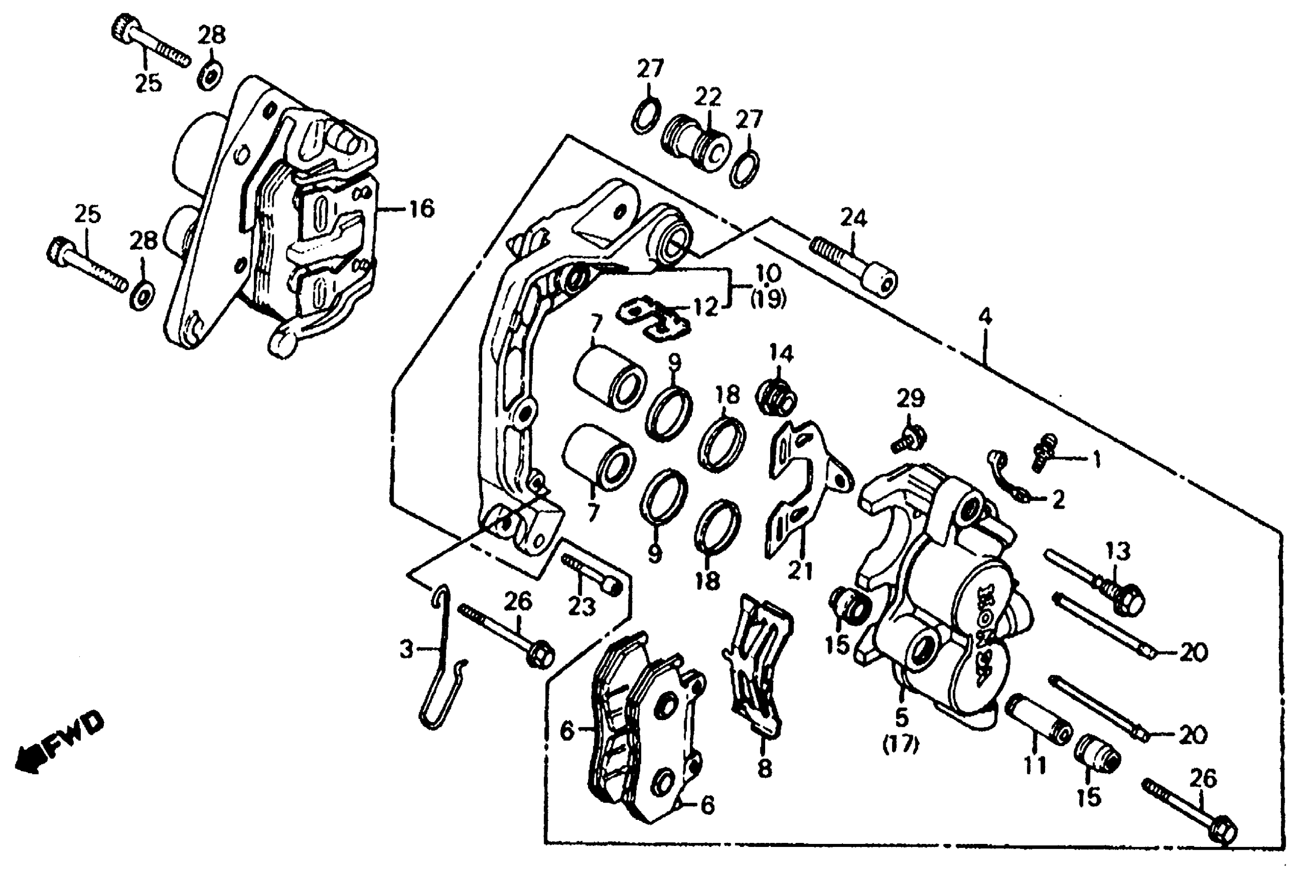
Honda VF700CA (86) MAGNA, JPN, VIN# JH2RC210-GM200003 TO JH2RC210-GM208928 FRONT BRAKE CALIPER 85-86 Diagram
#
Description
Price
NI
PAD SET, FR.
06455-MJ1-405
Unavailable
NI
PAD SET, FR. This part replaces 451A0-MJ1-670.
06455-MJ1-405
Unavailable
4
CALIPER ASSY., L. FR. (NOT AVAILABLE)
45100-MK3-007
Unavailable
4
CALIPER ASSY., L. FR. (NOT AVAILABLE) This part replaces 45100-MK3-008.
45100-MK3-007
Unavailable
5
CALIPER, L.
45101-MA3-006
Unavailable
6
PAD, FR. (ASK) (SEE KIT P/N--END OF BLOCK) (NOT AVAILABLE) This part replaces 45105-MB1-701.
45105-MJ1-673
Unavailable
6
PAD, FR. (ASK) (SEE KIT P/N--END OF BLOCK) (NOT AVAILABLE) This part replaces 45105-MB1-702.
45105-MJ1-673
Unavailable
6
PAD, FR. (ASK) (SEE KIT P/N--END OF BLOCK) (NOT AVAILABLE) This part replaces 45105-MJ1-672.
45105-MJ1-673
Unavailable
6
PAD, FR. (ASK) (SEE KIT P/N--END OF BLOCK) (NOT AVAILABLE)
45105-MJ1-673
Unavailable
10
BRACKET, L. FR.
45110-MB3-006
Unavailable
16
CALIPER, R. FR. This part replaces 45200-MK3-007.
45200-MK3-405
Unavailable
16
CALIPER, R. FR. This part replaces 45200-MK3-008.
45200-MK3-405
Unavailable
17
CALIPER, R. (NOT AVAILABLE)
45201-MA3-006
Unavailable
19
BRACKET, R. FR.
45210-MB4-006
Unavailable
21
PLATE
45217-MJ0-006
Unavailable
22
SLEEVE, FR. CALIPER BRACKET
51536-MB2-000
Unavailable
24
BOLT, SOCKET (10X40)
90131-MB2-000
Unavailable
