- Partiron
- OEM Parts
- Honda
- MOTORCYCLE
- 1984
- VF700CA (84) MAGNA, JPN, VIN# JH2RC210-EM000002 TO JH2RC210-EM014552
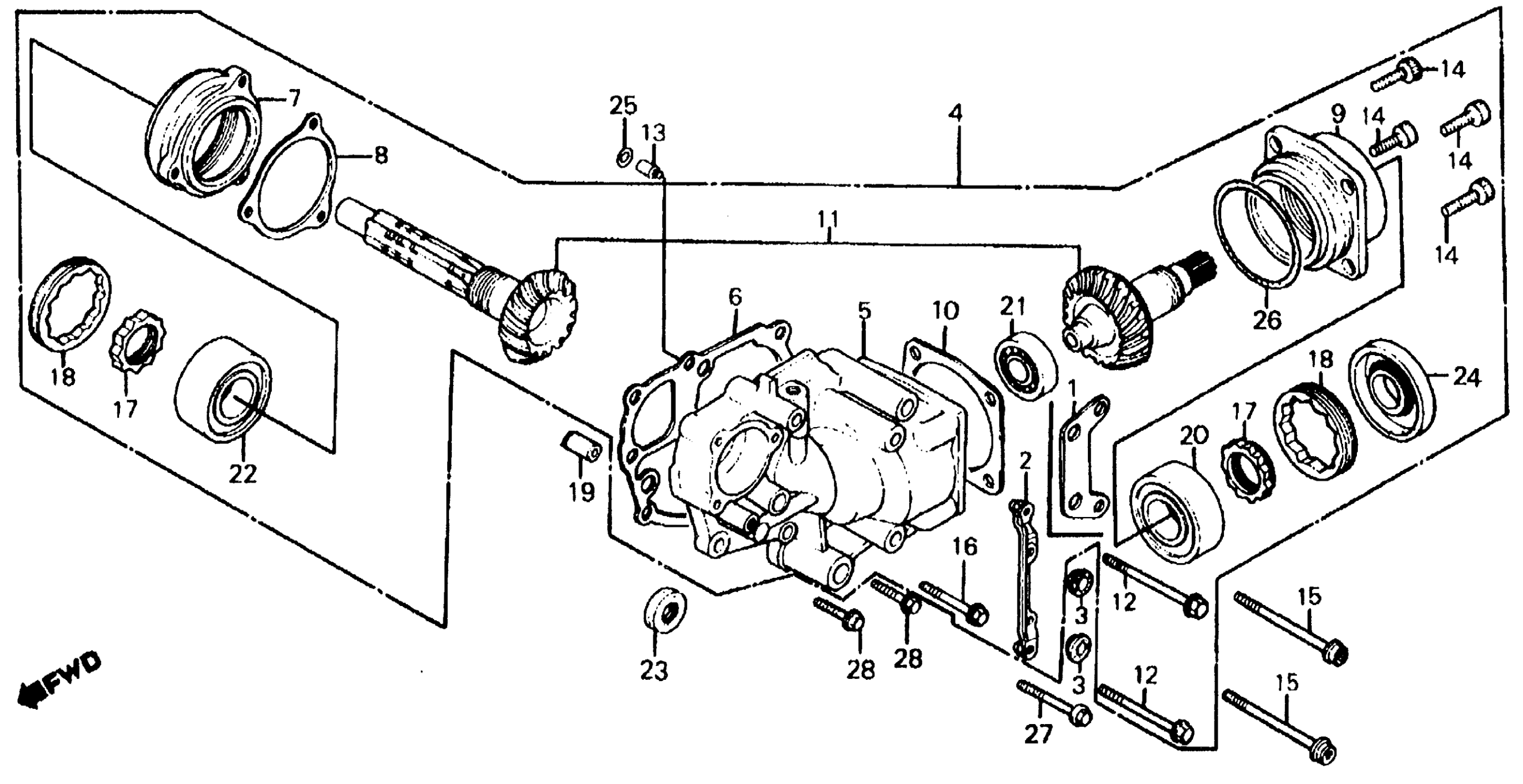
CROSS SHAFT
Honda VF700CA (84) MAGNA, JPN, VIN# JH2RC210-EM000002 TO JH2RC210-EM014552 CROSS SHAFT Diagram
#
Description
Price
1
COVER, CLUTCH
11342-MB0-000
Unavailable
4
CASE ASSY., SIDE GEAR
21100-MB0-870
Unavailable
5
CASE, SIDE GEAR
21200-MB0-000
Unavailable
6
GASKET, SIDE GEAR
21291-MB0-306
Unavailable
6
GASKET, SIDE GEAR This part replaces 21291-MB0-770.
21291-MB0-306
Unavailable
7
HOLDER, COUNTERSHAFT BEARING
21301-MB0-000
Unavailable
8
SHIM, COUNTERSHAFT (0.40)
21321-MB0-770
Unavailable
8
SHIM, COUNTERSHAFT (0.45)
21322-MB0-770
Unavailable
8
SHIM, COUNTERSHAFT (0.50) (NOT AVAILABLE)
21323-MB0-770
Unavailable
8
SHIM, COUNTERSHAFT (0.55)
21324-MB0-770
Unavailable
8
SHIM, COUNTERSHAFT (0.60)
21325-MB0-770
Unavailable
9
HOLDER, CROSS SHAFT BEARING
21371-MB0-000
Unavailable
11
SHAFT SET, CROSS
23200-MB0-870
Unavailable
12
BOLT, UBS (8X100)
90004-HC4-000
Unavailable
12
BOLT, UBS (8X100) (NOT AVAILABLE) This part replaces 90004-422-000.
90004-HC4-000
Unavailable
13
ORIFICE, OIL CONTROL (NOT AVAILABLE)
90049-MB0-000
Unavailable
15
BOLT, FLANGE SOCKET (8X85)
90062-MB0-000
Unavailable
19
ORIFICE, PIN (10X16) (NOT AVAILABLE)
90703-MB0-000
Unavailable
