- Partiron
- OEM Parts
- Honda
- MOTORCYCLE
- 1986
- VF500FA (86) 500 INTERCEPTOR, JPN, VIN# JH2PC120-GM200001 TO JH2PC120-GM202293
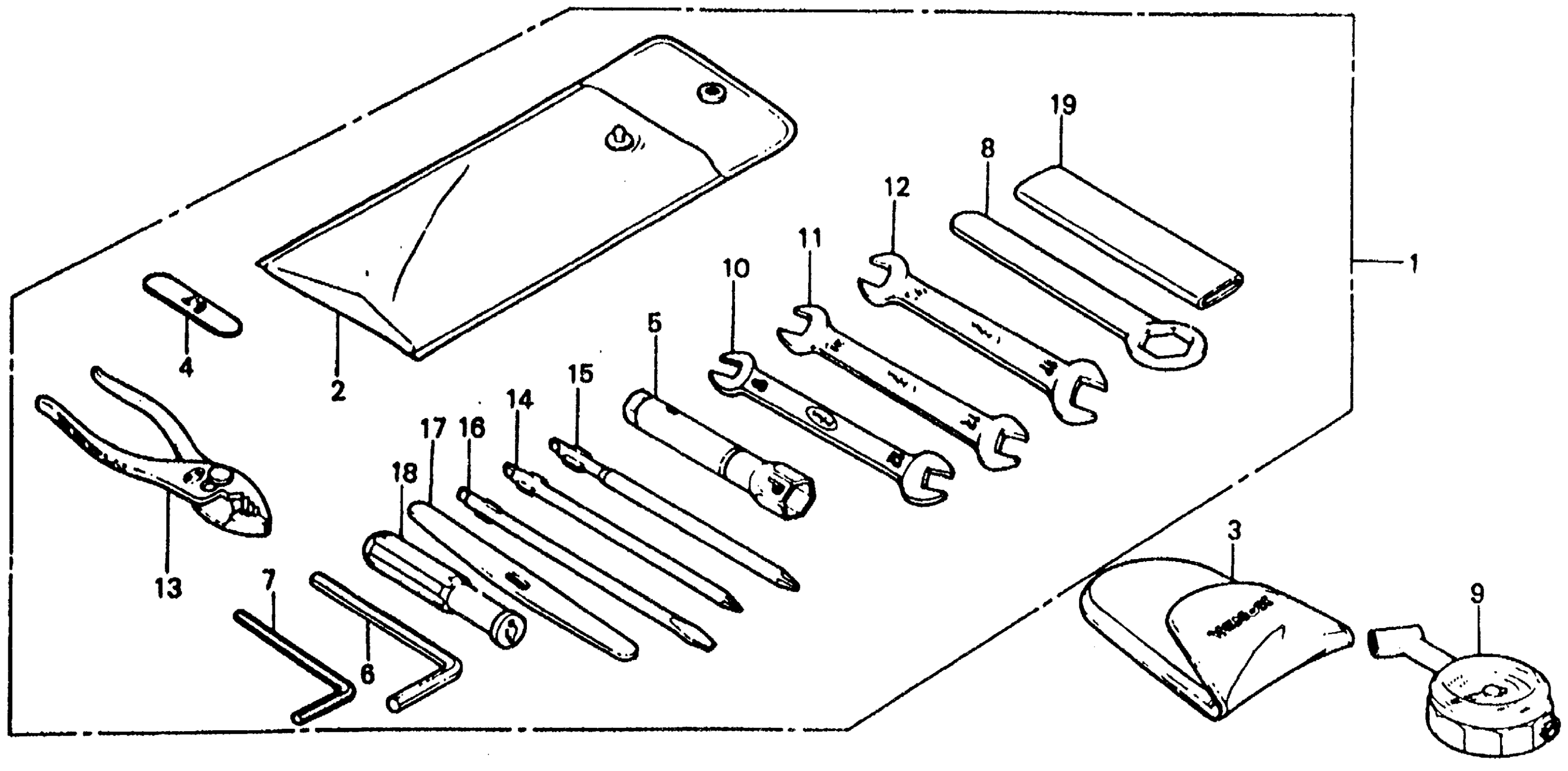
TOOLS
Honda VF500FA (86) 500 INTERCEPTOR, JPN, VIN# JH2PC120-GM200001 TO JH2PC120-GM202293 TOOLS Diagram
#
Description
Price
1
TOOL SET
89010-MF2-000
Unavailable
2
BAG, TOOL
89101-ME5-670
Unavailable
2
BAG, TOOL This part replaces 89101-300-010.
89101-ME5-670
Unavailable
2
BAG, TOOL This part replaces 99008-02000.
89101-ME5-670
Unavailable
5
WRENCH, PLUG (NOT AVAILABLE)
89216-438-000
Unavailable
8
WRENCH, EYE (22)
89222-MF2-000
Unavailable
